zakaz@zapkomat.su
8 800 777-45-32
Расчитать заявку
Каталог
Типы
Гидравлика
Крепеж
Прокладки
Соединения
Кожухи
Электрика
Справочник
Запрос сотрудничества
Сервисным организациям
Контакты
Главная
Справочник
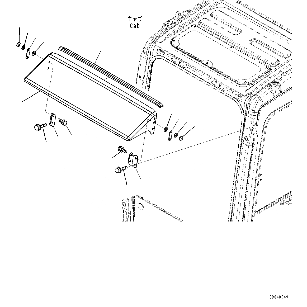
Запчасти козырек (№-) экскаваторы pc220-8m0 s/n 100001-up Komatsu
1
20Y-53-15710
Rain Visor
2
20Y-53-15750
Seal
3
20Y-54-52530
Plate
4
205-54-51720
Retainer
5
205-54-51730
Packing
6
01023-20612
Screw
7
20Y-53-15780
Plate
8
20Y-53-15790
Plate
9
01435-40620
Bolt
7
2
6
1
4
5
8
5
6
4
3
5
3
9
5
9
X
Рассчитать
Ваше имя:
Телефон *:
E-mail:
Сообщение: Пришлите наличие и стоимость
Оформить заказ