zakaz@zapkomat.su
8 800 777-45-32
Расчитать заявку
Каталог
Типы
Гидравлика
Крепеж
Прокладки
Соединения
Кожухи
Электрика
Справочник
Запрос сотрудничества
Сервисным организациям
Контакты
Главная
Справочник
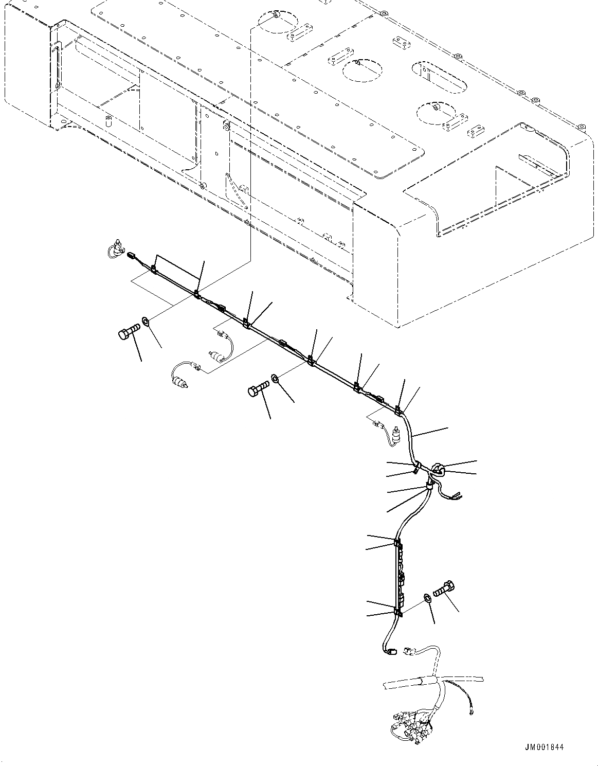
Запчасти задн. электрич. проводка, отсек двигателяпроводка (№-) погрузчики колесные wa1200-6 s/n 60004-up (kal spec. (chassis only)) Komatsu
1
42C-06-13271
Wiring Harness
|$1
56B-06-16510
Diode
2
04434-51710
Clip
3
07095-40211
Cushion
4
01010-81016
Bolt
5
01643-31032
Washer
6
600-051-2080
Clip
7
01010-81016
Bolt
8
01643-31032
Washer
6
8
7
2
3
2
3
5
4
2
3
2
3
1
2
3
3
2
2
3
3
2
2
3
5
4
X
Рассчитать
Ваше имя:
Телефон *:
E-mail:
Сообщение: Пришлите наличие и стоимость
Оформить заказ