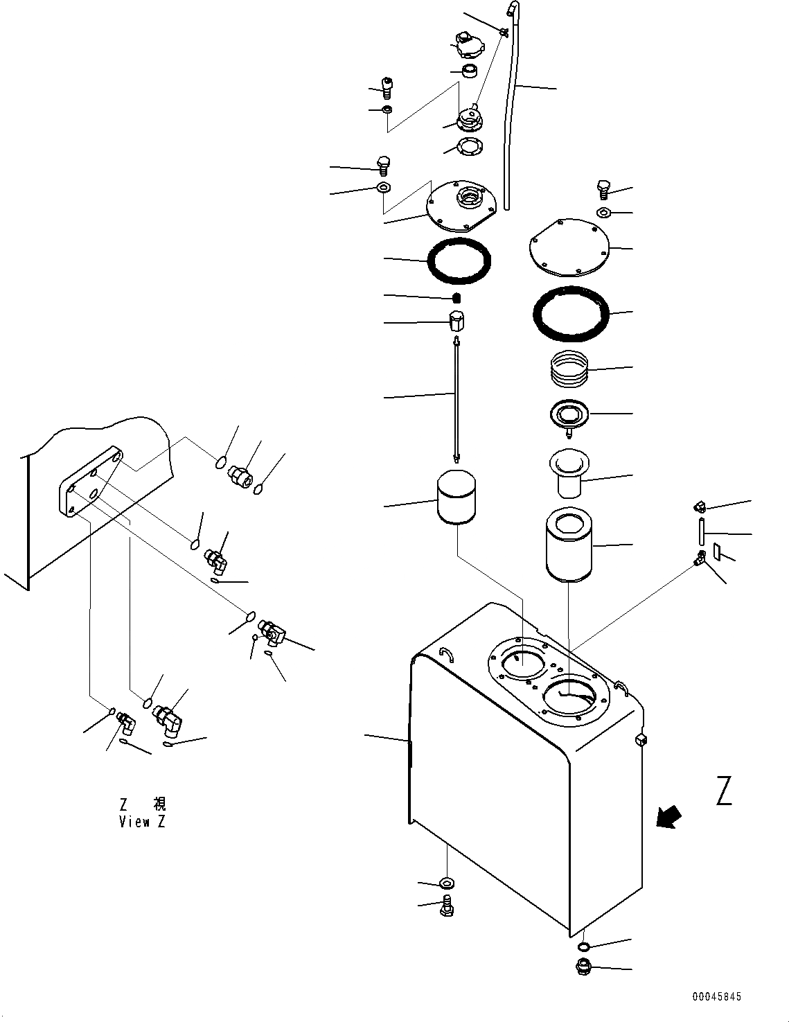
| 1 | 20Y-60-41113 | Tank | |
| 2 | 203-60-31100 | Elbow Assembly | |
| 3 | 203-60-31160 | Tube | |
| 4 | 07044-12412 | Plug | |
| 5 | 07002-12434 | O-ring | |
| 6 | 02781-00628 | Union | |
| 7 | 02896-11018 | O-ring | |
| 8 | 07002-12434 | O-ring | |
| 9 | 02782-10522 | Elbow | |
| 10 | 02896-11015 | O-ring | |
| 11 | 07002-12434 | O-ring | |
| 12 | 02782-10315 | Elbow | |
| 13 | 02896-11009 | O-ring | |
| 14 | 07002-12034 | O-ring | |
| 15 | 02782-10311 | Elbow | |
| 16 | 02896-11009 | O-ring | |
| 17 | 07002-11423 | O-ring | |
| 18 | 20Y-62-45690 | Tee | |
| 19 | 02896-11009 | O-ring | |
| 20 | 02896-11008 | O-ring | |
| 21 | 07002-12034 | O-ring | |
| 22 | 207-60-71182 | Element, Hydraulic Oil Filter | |
| 23 | 20Y-60-31140 | Strainer | |
| 24 | 20Y-60-31131 | Valve Assembly | |
| 25 | 20Y-60-21240 | Spring | |
| 26 | 22U-60-21232 | Cover | |
| 27 | 07000-15195 | O-ring | |
| 28 | 01010-81230 | Bolt | |
| 29 | 01643-31232 | Washer | |
| |$29 | 20Y-60-31171 | Strainer Assembly | |
| 30 | 207-60-61150 | Rod Assembly | |
| 31 | 20Y-60-21320 | Holder | |
| 32 | 12R-60-11230 | Spring | |
| 33 | 22B-60-11160 | Strainer | |
| 34 | 20Y-60-41162 | Cover | |
| 35 | 07000-15160 | O-ring | |
| 36 | 01010-81230 | Bolt | |
| 37 | 01643-31232 | Washer | |
| 38 | 17A-60-11310 | Cap Assembly | |
| 39 | 20Y-60-21470 | Element | |
| 40 | 208-60-71180 | Filler Neck, Filler | |
| 41 | 20Y-60-21340 | Gasket | |
| 42 | 01252-70516 | Bolt | |
| 43 | 01601-20513 | Washer | |
| 44 | 07285-00155 | Clip | |
| 45 | 07270-61411 | Tube | |
| 46 | 205-00-73360 | Plate, Operating | |
| 47 | 01010-81635 | Bolt | |
| 48 | 01643-31645 | Washer |