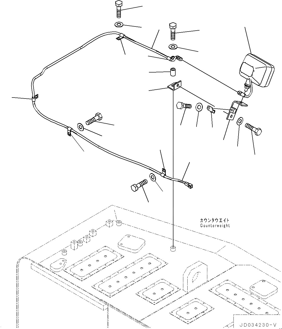
Запчасти дополн. задн. лампа рабоч. освещения (№-) экскаваторы pc850-8e0 s/n 65001-up Komatsu



1 21T-06-32810 Working Lamp Assembly
1 421-06-23330 Bulb, 70watt
2 20Y-06-21551 Bracket
3 01010-81225 Bolt
4 01643-31232 Washer
5 20Y-03-11220 Collar
6 01010-81260 Bolt
7 01643-31232 Washer
8 04434-51012 Clip
9 20Y-06-21590 Bracket
10 08193-20012 Clip
11 01010-81225 Bolt
12 01643-31232 Washer
13 209-06-45160 Wiring Harness
14 04434-51012 Clip
15 01010-81225 Bolt
16 01643-31232 Washer
17 01010-81220 Bolt
18 01643-31232 Washer
14
14
14
14
9
5
8
2
10
1
15
16
15
16
17
18
6
7
3
4
11
12
13
13
X
Рассчитать