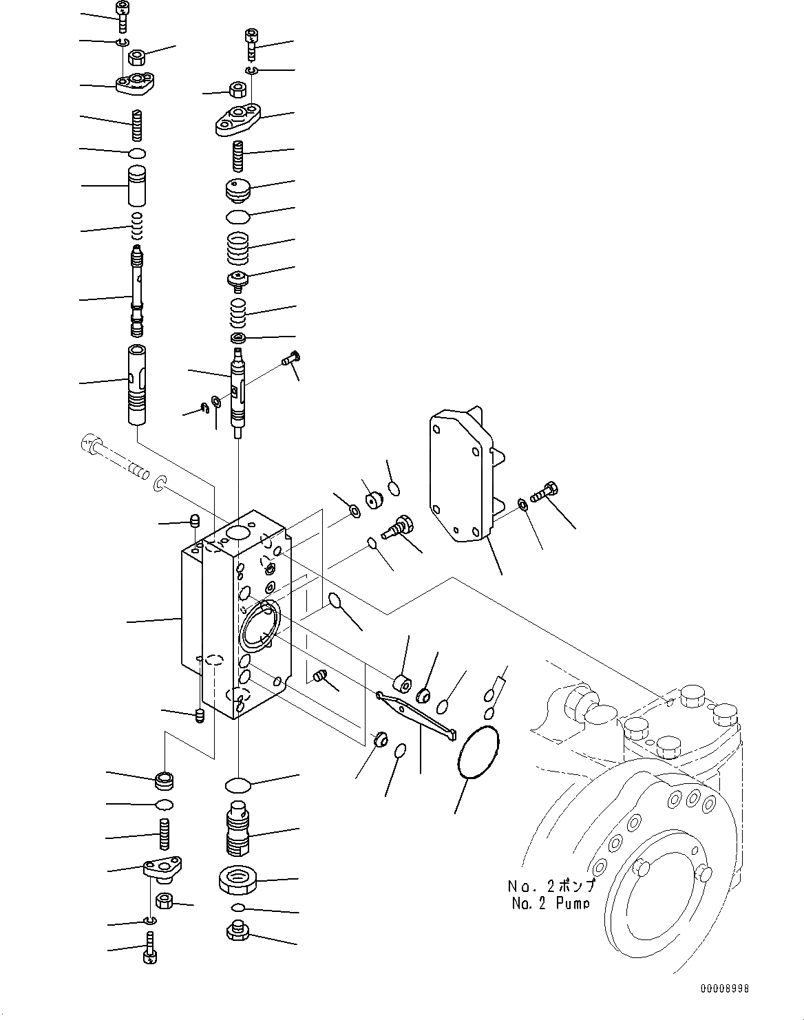
Запчасти поршень насос, внутр. части, no. насос (8/9) (№-) экскаваторы pc600-8e0 s/n 65001-up Komatsu



|$0 708-2L-90722 Pump Assembly
|$1 708-25-08292 Valve Assembly, Servo,Rear
|$2 708-25-00830 Body Assembly
1 Body,Front
2 Expander
3 708-25-15120 Piston
4 708-25-15130 Seat
5 708-25-55250 Spring
6 708-25-25130 Spring
7 708-23-15160 Plug
8 708-23-15120 Seat
9 07000-B2018 O-ring
10 708-25-15150 Cover
11 01580-10806 Nut
12 01252-60616 Bolt, Hexagon Socket Head
13 01602-20619 Washer
14 07002-62034 O-ring
15 07239-12009 Nut
16 708-25-15180 Sleeve
17 708-25-15280 Spool
18 708-25-15310 Spring
19 708-25-15330 Spacer
20 708-25-15171 Plug
21 708-25-15340 Screw
22 07000-B2012 O-ring
23 708-25-15250 Cover
24 01580-10806 Nut
25 01252-60616 Bolt, Hexagon Socket Head
26 01602-20619 Washer
27 708-25-15260 Plug
28 07002-60823 O-ring
29 708-25-15270 Arm
30 708-25-15360 Pin
31 708-25-15370 Washer
32 708-25-15380 E-ring
33 07040-11007 Plug
34 07002-61023 O-ring
35 708-25-55110 Plate
36 708-25-19250 Plug
37 708-2L-25490 O-ring
38 07000-B2011 O-ring
39 01010-80825 Bolt
40 01643-50823 Washer
41 708-25-19230 Orifice
42 708-2L-25480 Filter
43 708-2L-25490 O-ring
44 07000-B1009 O-ring
45 07000-B3048 O-ring
46 708-25-15430 Plug
47 708-25-15460 Shim, T=0.05mm
47 708-25-15470 Shim, T=0.10mm
47
2
2
30
42
43
2
28
38
3
44
41
45
42
37
40
36
27
24
21
26
35
25
23
24
23
39
22
14
21
20
29
19
1
37
33
11
31
7
12
10
9
8
5
26
34
13
6
4
21
25
18
17
16
15
46
22
32
X
Рассчитать