zakaz@zapkomat.su
8 800 777-45-32
Расчитать заявку
Каталог
Типы
Гидравлика
Крепеж
Прокладки
Соединения
Кожухи
Электрика
Справочник
Запрос сотрудничества
Сервисным организациям
Контакты
Главная
Справочник
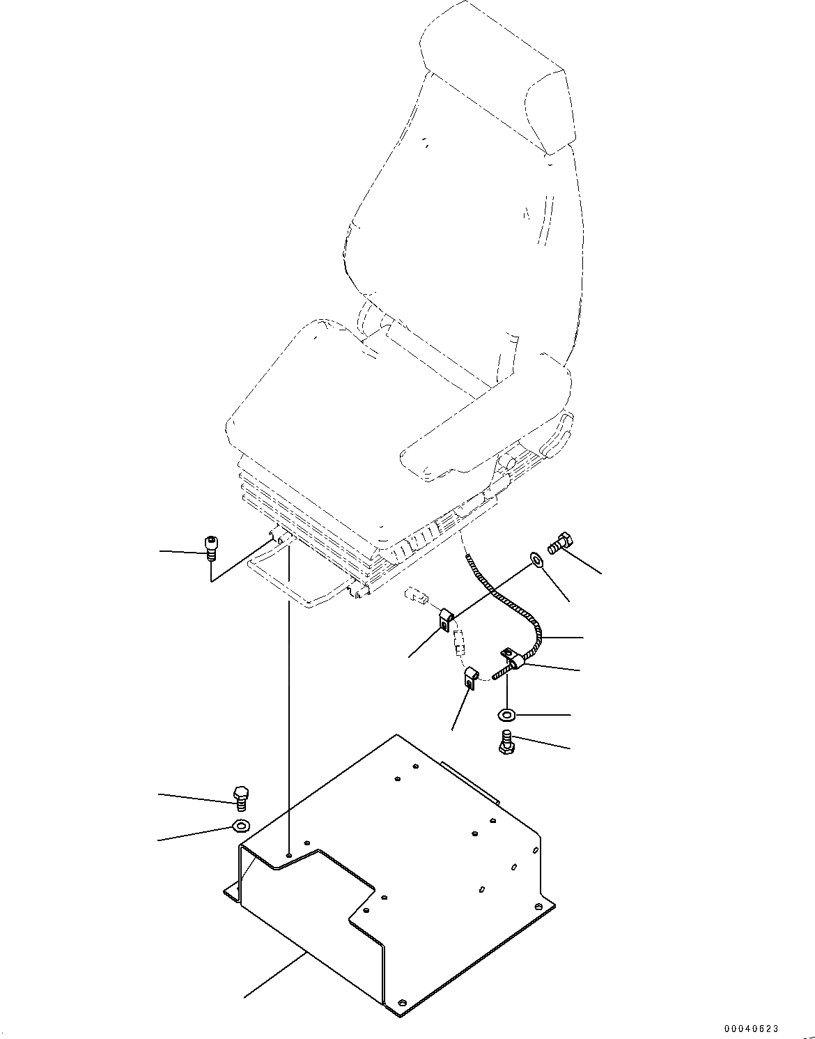
Запчасти сиденье оператора, крепление (№9-) погрузчики колесные wa480-6 s/n 90216-up Komatsu
1
423-54-42512
Bracket
2
01252-70820
Bolt
3
01010-81230
Bolt
4
01643-31232
Washer
5
04434-51010
Clip
6
01010-81020
Bolt
7
01643-31032
Washer
8
04434-51410
Clip
9
01010-81016
Bolt
10
01643-31032
Washer
11
08017-C1001
Conduit
1
3
2
4
8
9
11
5
5
6
10
7
X
Рассчитать
Ваше имя:
Телефон *:
E-mail:
Сообщение: Пришлите наличие и стоимость
Оформить заказ