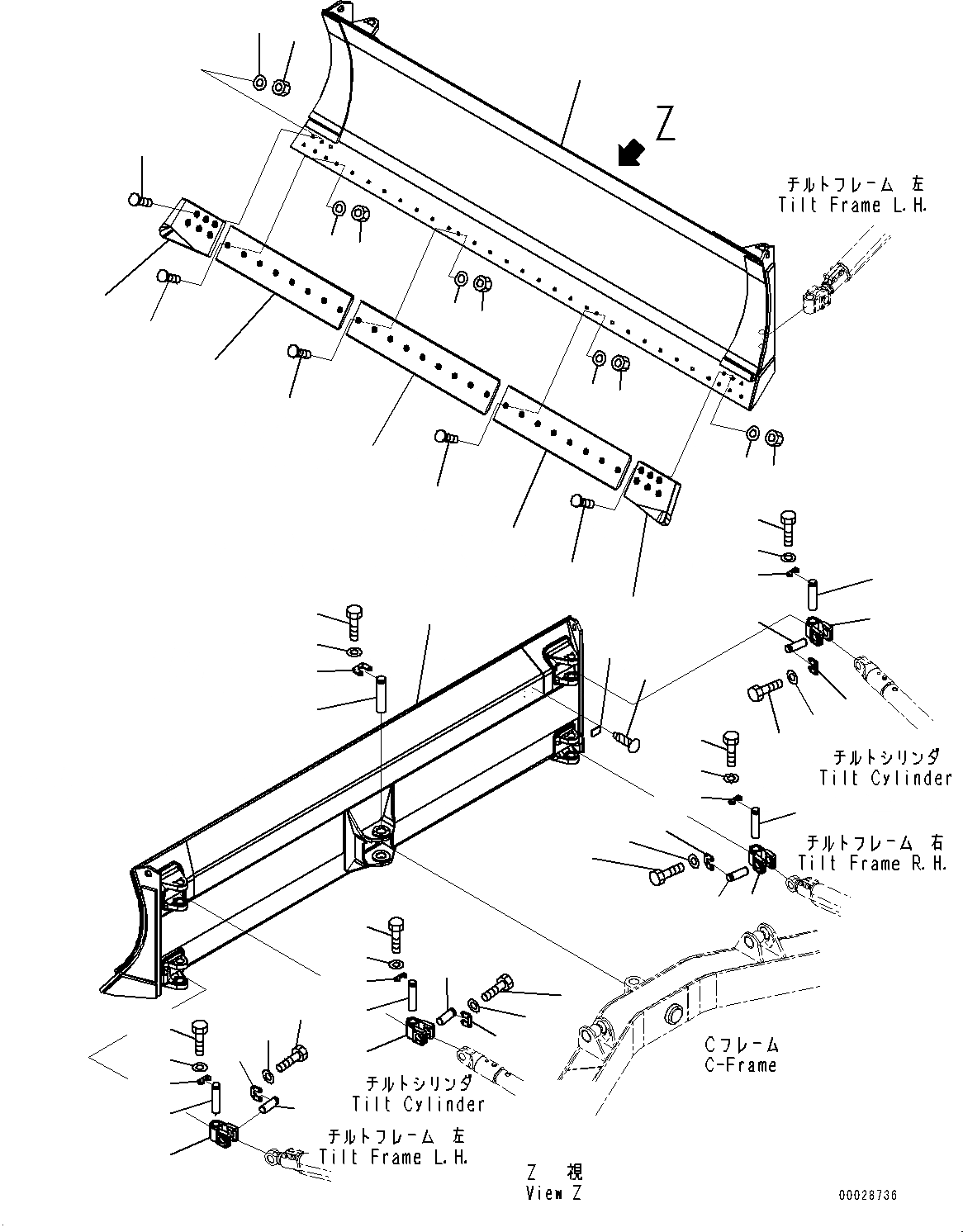
Запчасти dozer отвал (№9-) бульдозеры гусеничные d85ex-15e0 s/n 11609-up (ecot3, for eu) Komatsu



1 154-70-71110 Blade
2 154-70-11314 Edge
3 154-70-16591 Cutting Edge
4 150-70-21356 Bit
5 150-70-21346 Bit
6 154-71-41270 Bolt
7 154-70-22270 Nut
8 01643-21845 Washer
9 154-70-16280 Joint
10 154-70-16270 Pin
11 154-70-16290 Lock
12 01010-81435 Bolt
13 01643-31445 Washer, Flat
14 09255-01125 Pin
15 09257-05009 Lock
16 01010-81435 Bolt
17 01643-31445 Washer, Flat
18 150-70-23333 Pin
19 09257-06009 Lock
20 01010-81435 Bolt
21 01643-31445 Washer, Flat
22 09601-50000 Plate, Name (Limited Supply), EU Regulation
23 04418-13060 Screw
1
7
8
7
8
7
7
8
8
7
8
5
6
6
2
6
6
6
3
4
2
18
19
20
21
22
23
1
17
16
15
14
13
12
10
9
11
10
13
12
9
11
17
16
15
14
16
17
15
14
12
11
9
10
13
13
10
9
11
12
14
16
17
15
X
Рассчитать