- Главная
- Справочник
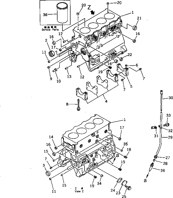
Запчасти блок цилиндров двигатели 4d95l-1aa-7 s/n 49965-up Komatsu
|
|
|1 |
6204-21-1102 |
CYLINDER BLOCK ASS'Y
|
|
|
1 |
|
BLOCK,CYLINDER
|
|
|
2 |
6204-21-1410 |
BUSHING,CAMSHAFT
|
|
|
3 |
6206-21-1420 |
BUSHING,CAMSHAFT
|
|
|
4 |
6204-29-1210 |
CAP,MAIN METAL¤ NO.1¤2¤3¤4
|
|
|
5 |
6204-29-1220 |
CAP,MAIN METAL¤ NO.5
|
|
|
6 |
6141-21-1530 |
RING,DOWEL
|
|
|
7 |
04025-00408 |
PIN,SPRING
|
|
|
8 |
6204-21-1610 |
BOLT,MAIN CAP
|
|
|
9 |
6204-51-1711 |
BUSHING,OIL PUMP
|
|
|
10 |
6204-51-1620 |
SHAFT,OIL PUMP
|
|
|
11 |
07046-41810 |
PLUG
|
|
|
12 |
04020-00820 |
PIN,DOWEL
|
|
|
13 |
6136-52-1620 |
PIN,DOWEL
|
|
|
14 |
07046-42216 |
PLUG
|
|
|
15 |
04020-01228 |
PIN,DOWEL
|
|
|
16 |
07046-43016 |
PLUG
|
|
|
17 |
07046-42516 |
PLUG
|
|
|
18 |
07042-10312 |
PLUG
|
|
|
19 |
07043-50108 |
PLUG
|
|
|
20 |
6140-21-1130 |
BUSHING,DOWEL
|
|
|
21 |
07046-44016 |
PLUG
|
|
|
22 |
07046-23016 |
PLUG
|
|
|
23 |
6204-21-6710 |
PLATE
|
|
|
24 |
6132-11-4820 |
GASKET (K2)
|
|
|
25 |
01435-20814 |
BOLT
|
|
|
26 |
6204-21-5510 |
GUIDE,BASE
|
|
|
27 |
6150-21-5930 |
NUT
|
|
|
28 |
6150-21-5920 |
COLLAR
|
|
|
29 |
6204-21-5421 |
GUIDE,OIL GAUGE
|
|
|
30 |
6204-21-5350 |
GAUGE,OIL
|
|
|
31 |
6204-23-5910 |
STAY
|
|
|
32 |
6144-21-5590 |
CLAMP
|
|
|
33 |
01435-21020 |
BOLT
|
|
|
34 |
07046-42216 |
PLUG,(WITHOUT OIL COOLER)
|
|
|
35 |
07046-41410 |
PLUG,(WITHOUT OIL COOLER)
|
|
|
36 |
6207-21-2110 |
LINER (MARK A),CYLINDER
|
|
|
|36 |
6207-21-2120 |
LINER (MARK B),CYLINDER
|