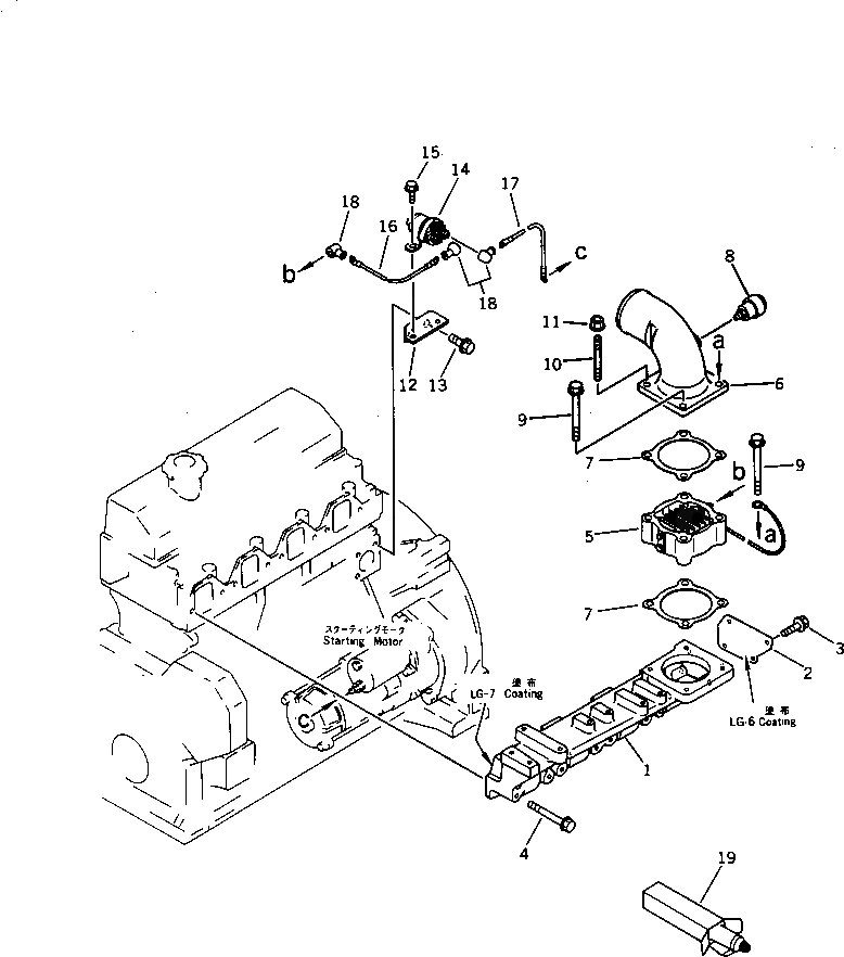
| |$0 | 6204-11-4120 | INTAKE MANIFOLD A. | |
| 1 | 6204-11-4130 | MANIFOLD | |
| 2 | 6204-11-4140 | PLATE | |
| 3 | 01435-00812 | BOLT | |
| 4 | 01435-21075 | BOLT | |
| 5 | 600-815-2341 | HEATER,RIBBON | |
| 6 | 6204-12-4230 | CONNECTOR,AIR | |
| 7 | 6136-11-4820 | GASKET (K1) | |
| 8 | 08670-02001 | INDICATOR,DUST | |
| 8 | 08670-01635 | INDICATOR,DUST | |
| 9 | 01435-21065 | BOLT | |
| 10 | 01144-31065 | STUD | |
| 11 | 01584-01008 | NUT | |
| 12 | 6206-81-5510 | BRACKET | |
| 13 | 01435-21020 | BOLT | |
| 14 | 600-815-2170 | SWITCH | |
| 15 | 01435-20612 | BOLT | |
| 16 | 6151-81-4470 | WIRE, 200MM | |
| 17 | 6136-85-4320 | WIRE, 270MM | |
| 18 | 08038-00519 | CAP | |
| 19 | 09920-00150 | LIQUID GASKET,LG-7, 150G |