zakaz@zapkomat.su
8 800 777-45-32
Расчитать заявку
Каталог
Типы
Гидравлика
Крепеж
Прокладки
Соединения
Кожухи
Электрика
Справочник
Запрос сотрудничества
Сервисным организациям
Контакты
Главная
Справочник
Запчасти h9- клапан assembly контроль погрузчики с бортовым поворотом ck30-1 s/n a30001-up Komatsu
|$0
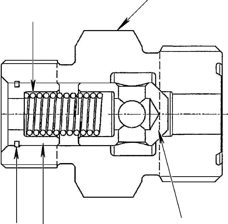
37C-62-18301
VALVE ASSEMBLY, CHECK
1
04065-01410
RING
2
22K-60-22231
POPPET
3
3A1-62-11890
SEAT
4
37C-62-18310
BODY
5
37C-62-18320
SPRING
4
5
2
1
3
X
Рассчитать
Ваше имя:
Телефон *:
E-mail:
Сообщение: Пришлите наличие и стоимость
Оформить заказ