- Главная
- Справочник
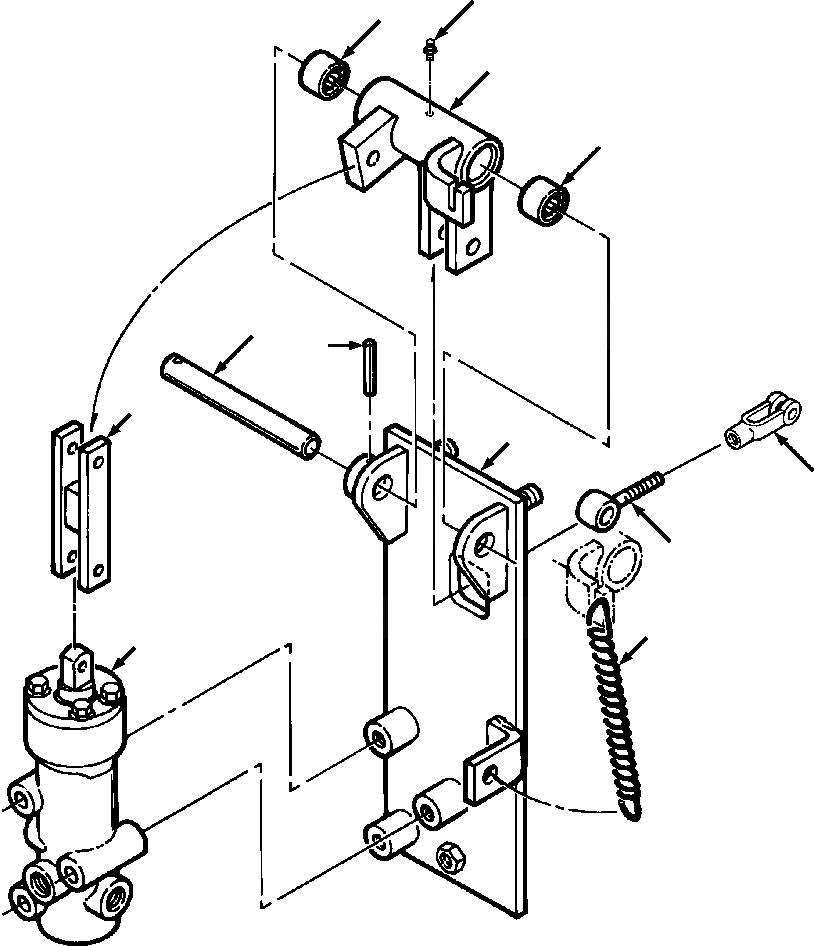
Запчасти fig. f-a тормозной клапан управл-е бульдозеры гусеничные d32e-1a/p-1a s/n p076093-up Komatsu
|
|
|$0 |
1306 944 H91 |
VALVE AND BRACKET ASSEMBLY, BRAKE
|
|
|
1 |
1306 954 H91 |
BRACKET, BRAKE
|
|
|
|$2 |
1281 715 H91 |
BELLCRANK ASSEMBLY, BRAKE
|
|
|
2 |
1281 716 H91 |
BELLCRANK
|
|
|
3 |
173 892 C91 |
BEARING, NEEDLE
|
|
|
4 |
109 454 |
FITTING, LUBE
|
|
|
5 |
346 019 R1 |
SPRING
|
|
|
6 |
1268 173 H1 |
SHAFT, CONTROL
|
|
|
7 |
19 444 R1 |
PIN, ROLL - 5/32x1-3/8
|
|
|
8 |
1281 714 H91 |
LINK, BRAKE
|
|
|
|$10 |
26 114 R1 |
PIN, CLEVIS - 1/4x1-1/4
|
|
|
|$11 |
103 361 |
PIN, COTTER - 1/16x1/2
|
|
|
9 |
1258 313 H91 |
EYE, STEERING
|
|
|
|$13 |
25 934 R1 |
NUT, JAM - 3/8NF
|
|
|
|$14 |
865 197 R1 |
PIN, CLEVIS - 3/8x1-7/32
|
|
|
|$15 |
103 373 |
PIN, COTTER - 3/32x3/4
|
|
|
10 |
116 536 |
CLEVIS - 3/8
|
|
|
|$17 |
865 197 R1 |
PIN, CLEVIS - 3/8x1-7/32
|
|
|
|$18 |
103 373 |
PIN, COTTER - 3/32x3/4
|
|
|
|$20 |
25 235 R1 |
BOLT, HEX - 5/16NCx2-1/2
|
|
|
|$21 |
25 533 R1 |
WASHER, FLAT - 5/16
|
4
3
2
3
6
7
8
1
10
9
5
11