zakaz@zapkomat.su
8 800 777-45-32
Расчитать заявку
Каталог
Типы
Гидравлика
Крепеж
Прокладки
Соединения
Кожухи
Электрика
Справочник
Запрос сотрудничества
Сервисным организациям
Контакты
Главная
Справочник
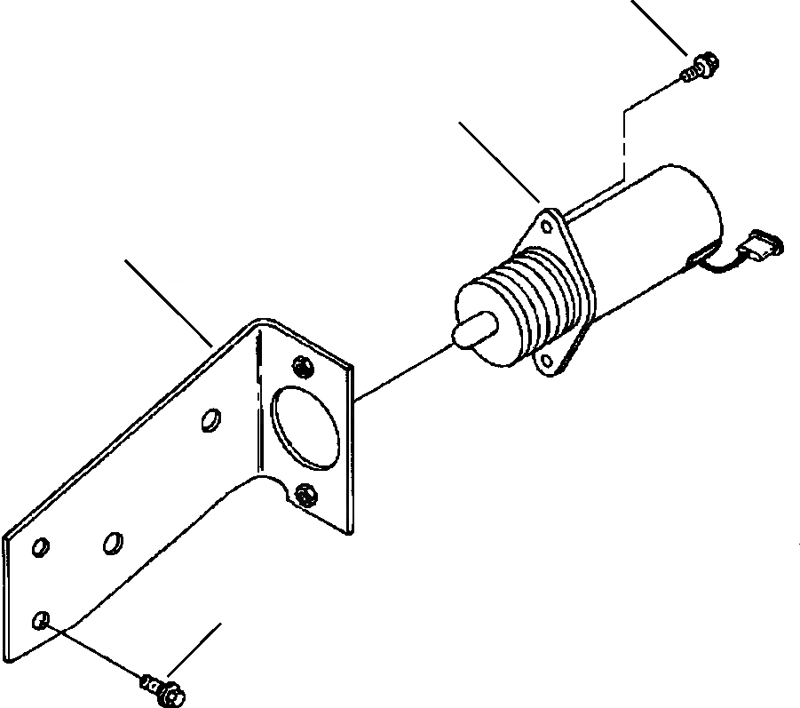
Запчасти топливн. shutoff соленоид закрыт.d корпус погрузчики колесные wa420-1lc s/n a25001-up Komatsu
1
1295 466 H91
SOLENOID, FUEL PUMP
2
1280 607 H1
BRACKET, SOLENOID - CLOSED
3
6732-21-4180
BOLT - M6 X 1.00 X 15
4
6732-61-3140
BOLT - M10 X 1.50 X 20
3
1
2
4
X
Рассчитать
Ваше имя:
Телефон *:
E-mail:
Сообщение: Пришлите наличие и стоимость
Оформить заказ