zakaz@zapkomat.su
8 800 777-45-32
Расчитать заявку
Каталог
Типы
Гидравлика
Крепеж
Прокладки
Соединения
Кожухи
Электрика
Справочник
Запрос сотрудничества
Сервисным организациям
Контакты
Главная
Справочник
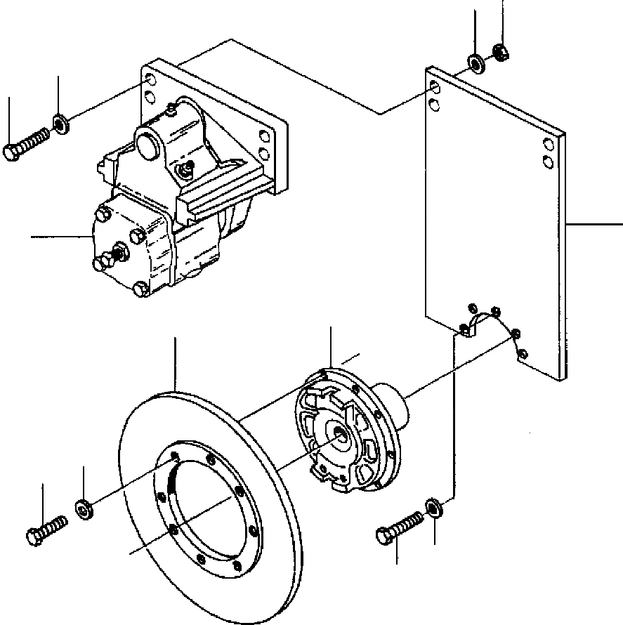
Запчасти стояночный тормоз заводской номер - грейдеры gd530a/aw-2b/2c w/s6d102e s/n 203163-up Komatsu
1
25 005 R1
BOLT
2
25 534 R1
WASHER, FLAT
3
1281 013 H2
DISK, PARKING BRAKE
5
30 021 R1
BOLT
6
30 176 R1
WASHER, FLAT
7
1431 588 H1
BRACKET, PARKING BRAKE
9
24 865 R1
BOLT
10
25 546 R1
WASHER, FLAT
11
25 526 R1
NUT, HEX
11
10
10
9
7
8
4
3
2
1
6
5
X
Рассчитать
Ваше имя:
Телефон *:
E-mail:
Сообщение: Пришлите наличие и стоимость
Оформить заказ