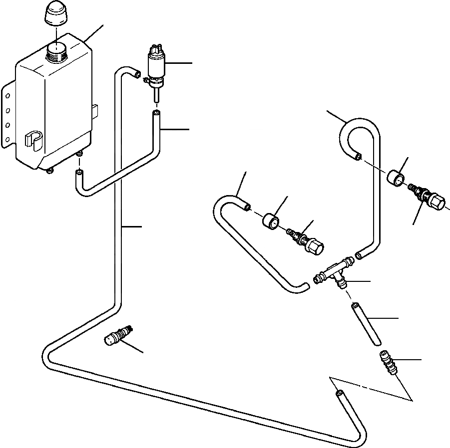
Запчасти windзащитн. омыватель установка нижн. передн. окнаs грейдеры gd650a-1/aw-1 s/n 200840-202000 Komatsu



2 940 455 C2 HOSE - 7 IN
3 1212 589 H1 PUMP
4 940 455 C2 HOSE - 110 IN
|$4 1200 801 H1 CLIP, HOSE
5 940 455 C2 HOSE - 5 IN
6 23 323 H SPACER
7 940 457 C91 WASHER, JET
|$8 944 032 C1 NOZZLE
8 1277 931 H1 VALVE, CHECK
9 940 821 C1 TEE
10 453 453 C1 SWITCH, PUSH BUTTON - WINDOW WASHERS
3
5
2
6
5
6
7
4
7
9
4
8
1
10
X
Рассчитать