zakaz@zapkomat.su
8 800 777-45-32
Расчитать заявку
Каталог
Типы
Гидравлика
Крепеж
Прокладки
Соединения
Кожухи
Электрика
Справочник
Запрос сотрудничества
Сервисным организациям
Контакты
Главная
Справочник
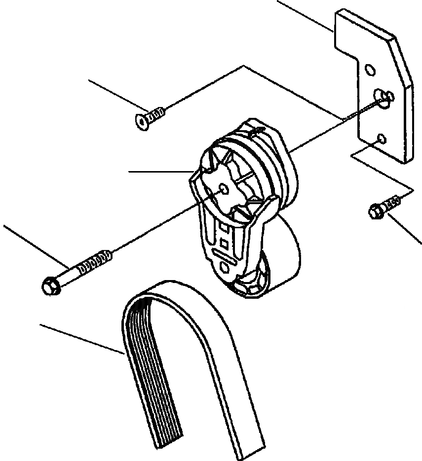
Запчасти натяжитель ремня и ремень грейдеры gd650a/aw-2ey & gd650a/aw-2ey s/n 210098-up Komatsu
1
6732-21-5160
BOLT (M8 x 1.25 x 25)
2
6736-81-6190
BOLT (M10 x 1.50 x 75)
3
6732-61-4110
TENSIONER, BELT
4
6732-61-4220
SCREW, FLAT HEAD
5
1307 594 H1
BRACKET, BELT TENSIONER
5
4
3
2
1
6
X
Рассчитать
Ваше имя:
Телефон *:
E-mail:
Сообщение: Пришлите наличие и стоимость
Оформить заказ