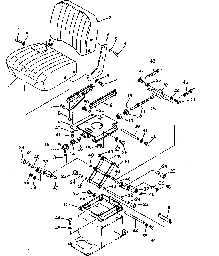
| |$0 | 238-57-00010 | SEAT ASS'Y | |
| 1 | 238-57-11110 | SEAT | |
| 2 | 238-57-11120 | SEAT | |
| 3 | 238-57-11130 | PLATE | |
| 4 | 01010-51025 | BOLT | |
| 5 | 01602-21030 | WASHER | |
| 6 | 236-54-22331 | ADJUSTER ASS'Y | |
| 7 | 236-54-22351 | ADJUSTER ASS'Y | |
| 8 | 01220-40816 | SCREW | |
| 9 | 238-57-11150 | BRACKET | |
| 10 | 238-57-11140 | BRACKET | |
| 11 | 238-57-11170 | SHAFT | |
| 12 | 238-57-11240 | LEVER | |
| 13 | 09304-01240 | KNOB | |
| 14 | 238-57-11180 | SPRING | |
| 15 | 04025-00432 | PIN | |
| 16 | 232-43-57180 | BUSHING | |
| 17 | 06000-51104 | BEARING | |
| 18 | 01592-12022 | NUT | |
| 19 | 04050-14040 | PIN | |
| 20 | 238-57-11160 | SLIDER | |
| 21 | 238-57-11260 | BOLT | |
| 22 | 01583-11006 | NUT | |
| 23 | 238-57-11270 | ROLLER | |
| 24 | 232-43-57180 | BUSHING | |
| 25 | 238-57-11250 | STOPPER | |
| 26 | 01010-51025 | BOLT | |
| 27 | 01602-21030 | WASHER | |
| 28 | 238-57-11280 | LINK | |
| 29 | 238-57-11210 | SHAFT | |
| 30 | 01010-51016 | BOLT | |
| 31 | 01643-31032 | WASHER | |
| 32 | 238-57-11220 | SHAFT | |
| 33 | 238-57-11190 | SHAFT | |
| 34 | 01010-51016 | BOLT | |
| 35 | 01643-31032 | WASHER | |
| 36 | 238-57-11230 | SPACER | |
| 37 | 238-57-11290 | ARM | |
| 38 | 01580-11008 | NUT | |
| 39 | 01643-31032 | WASHER | |
| 40 | 232-43-52320 | BUSHING | |
| 41 | 01580-10806 | NUT | |
| 42 | 01602-20825 | WASHER | |
| 43 | 238-57-11310 | SPRING | |
| 44 | 01010-51030 | BOLT | |
| 45 | 01602-21030 | WASHER |