zakaz@zapkomat.su
8 800 777-45-32
Расчитать заявку
Каталог
Типы
Гидравлика
Крепеж
Прокладки
Соединения
Кожухи
Электрика
Справочник
Запрос сотрудничества
Сервисным организациям
Контакты
Главная
Справочник
Запчасти топливн. насос входн. фиттинг двигатели 210m qsk19 engine Komatsu
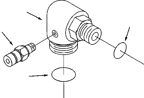
1
1295 869 H1
NIPPLE, COUPLING
|$1
1307 804 H91
ELBOW, MALE UNION
2
1240 473 H1
O-RING
3
1307 799 H1
O-RING
4
1307 805 H1
ELBOW, MALE UNION
3
2
4
1
X
Рассчитать
Ваше имя:
Телефон *:
E-mail:
Сообщение: Пришлите наличие и стоимость
Оформить заказ