zakaz@zapkomat.su
8 800 777-45-32
Расчитать заявку
Каталог
Типы
Гидравлика
Крепеж
Прокладки
Соединения
Кожухи
Электрика
Справочник
Запрос сотрудничества
Сервисным организациям
Контакты
Главная
Справочник
Запчасти масляный поддон крышкаesn 77 & down двигатели 210m qsk19 engine Komatsu
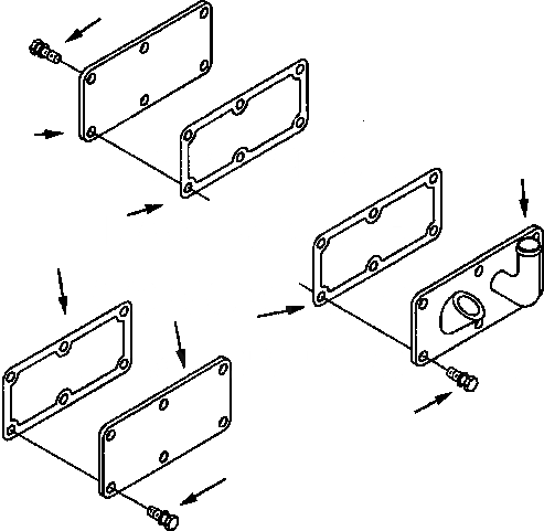
1
1239 321 H1
BOLT (3/8 - 16 x 1 3/64 INCH)
2
1239 768 H1
GASKET, HAND HOLE
3
1239 911 H2
COVER, HAND HOLE
4
1239 896 H1
COVER, HAND HOLE
1
4
3
2
2
4
2
1
1
X
Рассчитать
Ваше имя:
Телефон *:
E-mail:
Сообщение: Пришлите наличие и стоимость
Оформить заказ