zakaz@zapkomat.su
8 800 777-45-32
Расчитать заявку
Каталог
Типы
Гидравлика
Крепеж
Прокладки
Соединения
Кожухи
Электрика
Справочник
Запрос сотрудничества
Сервисным организациям
Контакты
Главная
Справочник
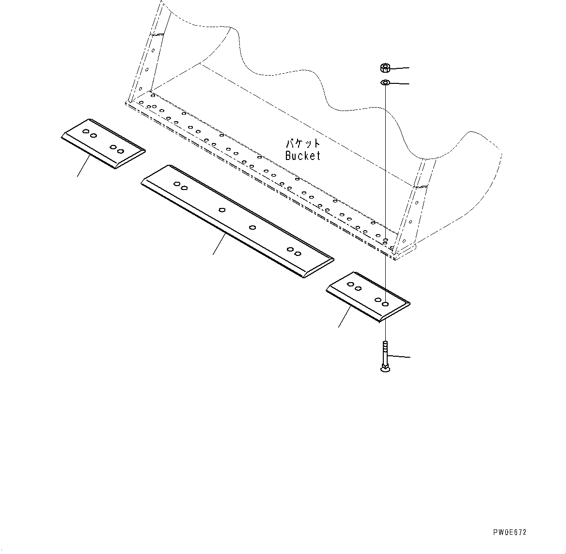
Запчасти режущ. кромка на болтах (№99-) погрузчики колесные wa380-6 s/n 65949-up Komatsu
1
424-815-1111
Edge, L=1748mm,Center
2
424-815-1131
Edge, L=575mm,Side
3
02090-11485
Bolt
4
02290-11422
Nut
5
01643-32260
Washer
5
4
3
1
2
2
X
Рассчитать
Ваше имя:
Телефон *:
E-mail:
Сообщение: Пришлите наличие и стоимость
Оформить заказ