zakaz@zapkomat.su
8 800 777-45-32
Расчитать заявку
Каталог
Типы
Гидравлика
Крепеж
Прокладки
Соединения
Кожухи
Электрика
Справочник
Запрос сотрудничества
Сервисным организациям
Контакты
Главная
Справочник
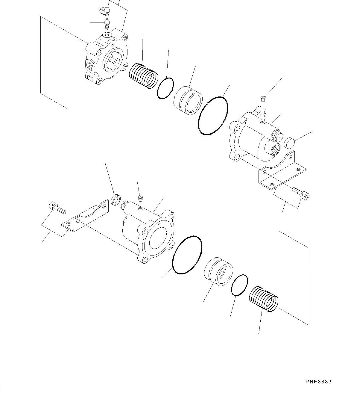
Запчасти управл-е тормозом, adjust цилиндр (№-) грейдеры gd555-5 s/n 55001-up Komatsu
1
424-35-15201
Slack Adjuster
2
Cylinder Assembly
2
424-35-15280
O-ring
3
424-35-15220
Piston
4
424-35-15230
Spring
5
424-35-15240
O-ring
6
424-35-15250
Cover
7
424-35-15260
O-ring
8
424-35-15270
Valve
9
07043-70108
Plug
4
1
1
3
5
7
2
9
6
4
8
3
7
9
2
1
6
5
X
Рассчитать
Ваше имя:
Телефон *:
E-mail:
Сообщение: Пришлите наличие и стоимость
Оформить заказ