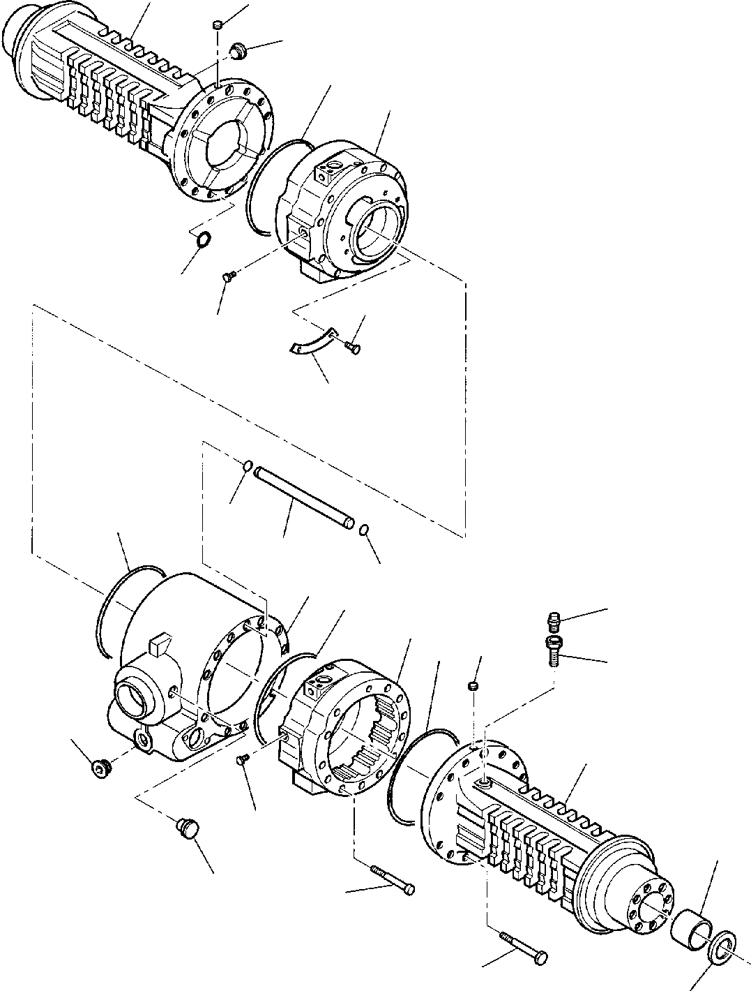
Запчасти задн. мост (/8) экскаваторы-погрузчики wb140ps-2 s/n 140f50098-up Komatsu



\0 200040633 REAR AXLE, ASSY
1 CA0144350 BEAM TRUMPET
2 CA0021558 PLUG
3 CA0125280 PLUG
4 CA0028562 O-RING
5 CA0144336 BRAKE CYLINDER
6 CA0028526 O-RING
7 CA0140132 PIPE, AIR RECYCLE
8 CA0139544 CENTRAL BODY
9 CA0144337 BRAKE CYLINDER
10 CA0104988 BREATHER
11 CA0121618 EXTENSION FOR BREATHER
12 CA0144351 BEAM TRUMPET
13 CA0131954 BUSH
14 CA0025311 OIL SEAL
15 CA0021712 BOLT
16 CA0021314 BOLT
17 CA0030803 PLUG
18 CA0023838 RIVET
19 CA0140647 PLATE
20 CA0028500 O-RING
21 CA0021579 PLUG
1
2
3
4
5
20
18
17
19
6
4
7
6
8
4
10
9
2
4
11
3
12
17
13
21
16
15
14
X
Рассчитать