zakaz@zapkomat.su
8 800 777-45-32
Расчитать заявку
Каталог
Типы
Гидравлика
Крепеж
Прокладки
Соединения
Кожухи
Электрика
Справочник
Запрос сотрудничества
Сервисным организациям
Контакты
Главная
Справочник
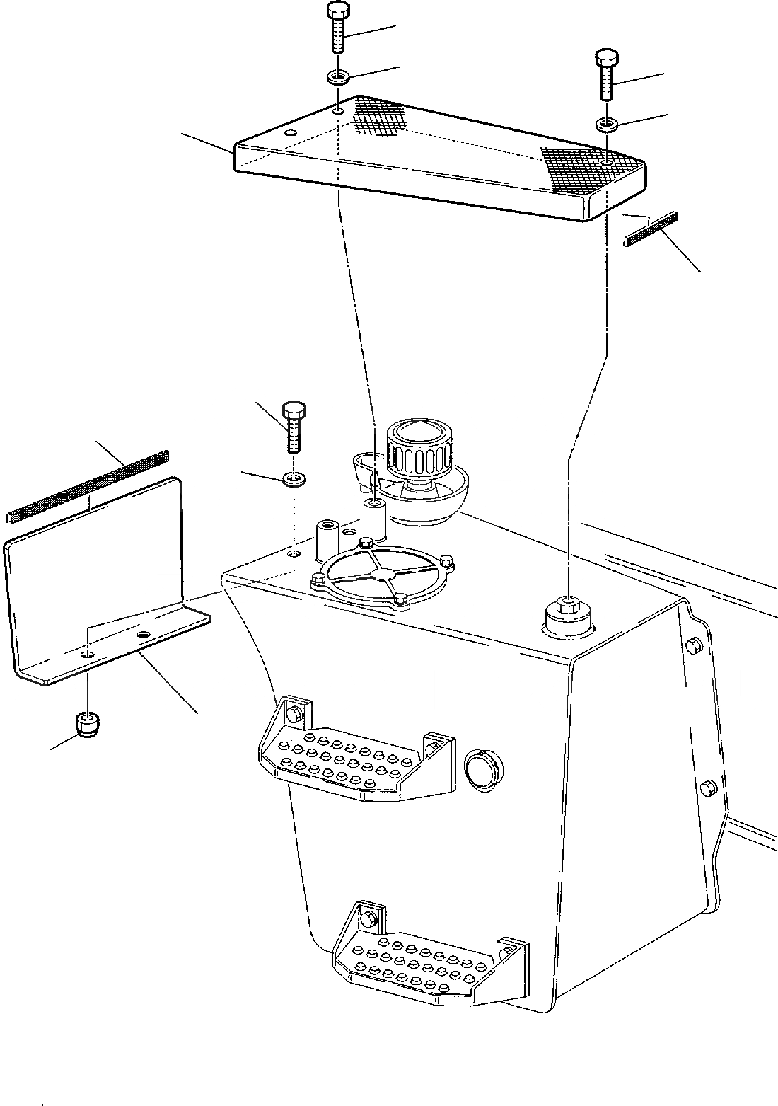
Запчасти гидравл. бак экскаваторы-погрузчики wb93r-2 s/n 93f23075-up Komatsu
1
312613661
FLOOR BOARD
2
801015108
BOLT
3
802170002
WASHER
4
855710058
GASKET
5
801015110
BOLT
6
312605719
SPLASH GUARD
7
855711068
GASKET
8
801015108
BOLT
9
801880001
SELF-LOCKING NUT
8
3
2
3
1
4
5
7
3
6
9
X
Рассчитать
Ваше имя:
Телефон *:
E-mail:
Сообщение: Пришлите наличие и стоимость
Оформить заказ