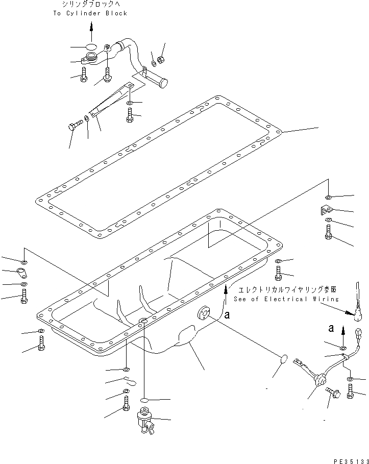
| 1 | 6150-23-5181 | PAN,OIL | |
| 2 | 6150-23-5190 | COCK,DRAIN | |
| 3 | 07002-22434 | O-RING (K2) | |
| 4 | 7861-92-4210 | SENSOR,OIL LEVEL | |
| 5 | 7861-91-4220 | O-RING (K2) | |
| 6 | 01435-00612 | BOLT | |
| 7 | 6150-21-5812 | GASKET (K2) | |
| 8 | 01010-81030 | BOLT | |
| 9 | 01010-81025 | BOLT | |
| 10 | 01010-81035 | BOLT | |
| 11 | 01640-21016 | WASHER | |
| 12 | 6130-22-5290 | CLIP,BREATHER HOSE | |
| 13 | 01643-31032 | WASHER | |
| 14 | 6101-61-6620 | CLAMP | |
| 15 | 08036-10814 | CLIP | |
| |15 | 08036-10810 | CLIP | |
| 16 | 6150-61-6370 | BRACKET | |
| 17 | 6150-51-6350 | STRAINER,OIL | |
| 18 | 07000-73045 | O-RING | |
| |18 | 07000-63045 | O-RING (K2) | |
| 19 | 01010-81035 | BOLT | |
| 20 | 6150-81-9370 | BOLT | |
| 21 | 6150-51-6241 | BRACKET | |
| 22 | 01010-81020 | BOLT | |
| 23 | 01643-31032 | WASHER | |
| 24 | 01010-81025 | BOLT | |
| 25 | 01580-01008 | NUT | |
| 26 | 01640-21016 | WASHER | |
| |26 | 01643-31032 | WASHER |