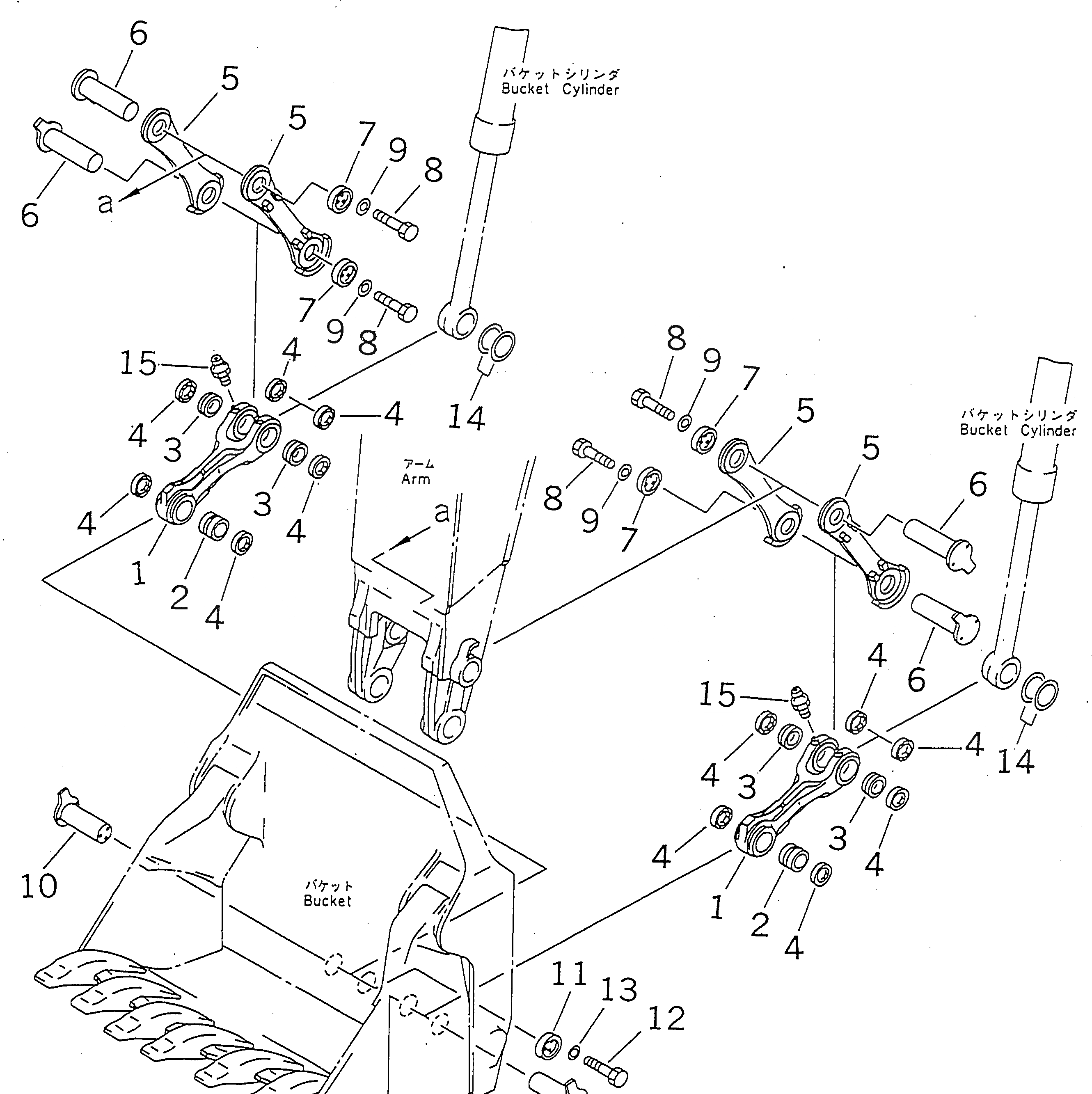
| |$0 | 208-72-00120 | Link Assembly | |
| 1 | Link | ||
| 2 | 208-72-24130 | Bushing | |
| 3 | 208-72-53160 | Bushing | |
| 4 | 208-72-13150 | Seal | |
| 5 | 208-72-68310 | Link | |
| 6 | 208-72-53150 | Pin | |
| 7 | 208-72-53140 | Holder | |
| 8 | 01010-81225 | Bolt | |
| 9 | 01643-31232 | Washer | |
| 10 | 208-72-53130 | Pin | |
| 11 | 208-72-53140 | Holder | |
| 12 | 01010-81225 | Bolt | |
| 13 | 01643-31232 | Washer | |
| 14 | 207-70-31340 | Spacer, T=0.8mm | |
| 15 | 07020-00000 | Fitting, Grease |