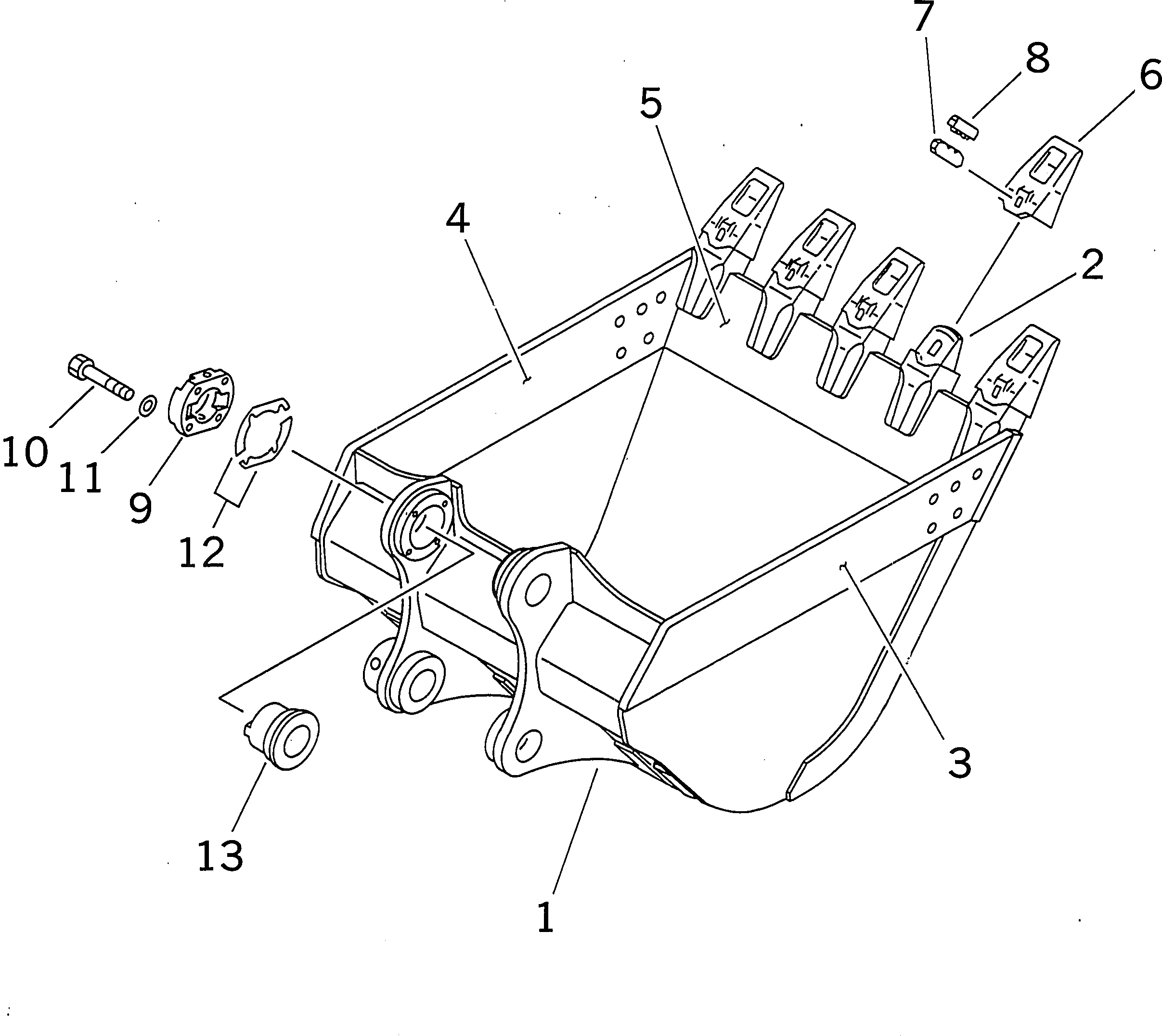
| 1 | 208-920-5110 | Bucket | |
| 2 | 208-70-34150 | Adapter,Welded | |
| 3 | 208-70-54121 | Plate,Welded | |
| 4 | 208-70-54131 | Plate,Welded | |
| 5 | 208-920-5120 | Plate,Welded | |
| 6 | 208-70-34211 | Tooth | |
| 7 | 208-70-34220 | Pin | |
| 8 | 208-70-34191 | Lock | |
| 9 | 208-70-34240 | Cover | |
| 10 | 01010-62470 | Bolt | |
| 11 | 01643-32460 | Washer | |
| 12 | 208-70-00081 | Shim Assembly | |
| 12 | Shim, T=1.0mm | ||
| 12 | Shim, T=0.5mm | ||
| 13 | 208-70-34230 | Bushing |