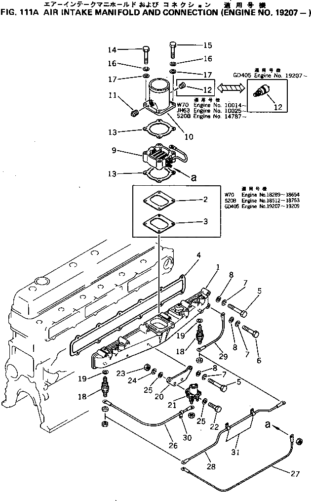
| 1 | 6136-11-4123 | INTAKE MANIFOLD | |
| |1 | 6136-11-4122 | INTAKE MANIFOLD | |
| 2 | 6136-11-4890 | SPACER | |
| 3 | 6136-11-4880 | GASKET | |
| 4 | 6136-11-4811 | GASKET | |
| 5 | 01010-30865 | BOLT | |
| 6 | 01010-30850 | BOLT | |
| 7 | 01602-00825 | WASHER | |
| 8 | 01640-00816 | WASHER | |
| 9 | 600-815-2341 | HEATER | |
| 10 | 6136-11-4210 | AIR CONNECTOR | |
| 11 | 07042-00108 | PLUG | |
| 12 | 08670-50001 | DUST INDICATOR | |
| 13 | 6136-11-4820 | GASKET | |
| 14 | 01010-30870 | BOLT | |
| |14 | 01010-30875 | BOLT | |
| 15 | 01010-30875 | BOLT | |
| 16 | 01602-00825 | WASHER | |
| 17 | 01640-00816 | WASHER | |
| 18 | 600-815-2350 | GLOW PLUG | |
| 19 | 07003-02228 | GASKET | |
| 20 | 6136-81-4111 | PLATE | |
| 21 | 600-815-2170 | RELAY SWITCH | |
| 22 | 01010-30620 | BOLT | |
| 23 | 01580-00605 | NUT | |
| 24 | 01602-00619 | WASHER | |
| 25 | 01641-20608 | WASHER | |
| 26 | 6136-81-4210 | WIRE | |
| 27 | 6136-81-4220 | WIRE | |
| 28 | 6136-81-4230 | WIRE | |
| 29 | 6136-81-4240 | WIRE | |
| 30 | 08036-11210 | CLIP | |
| 31 | 08036-10814 | CLIP |