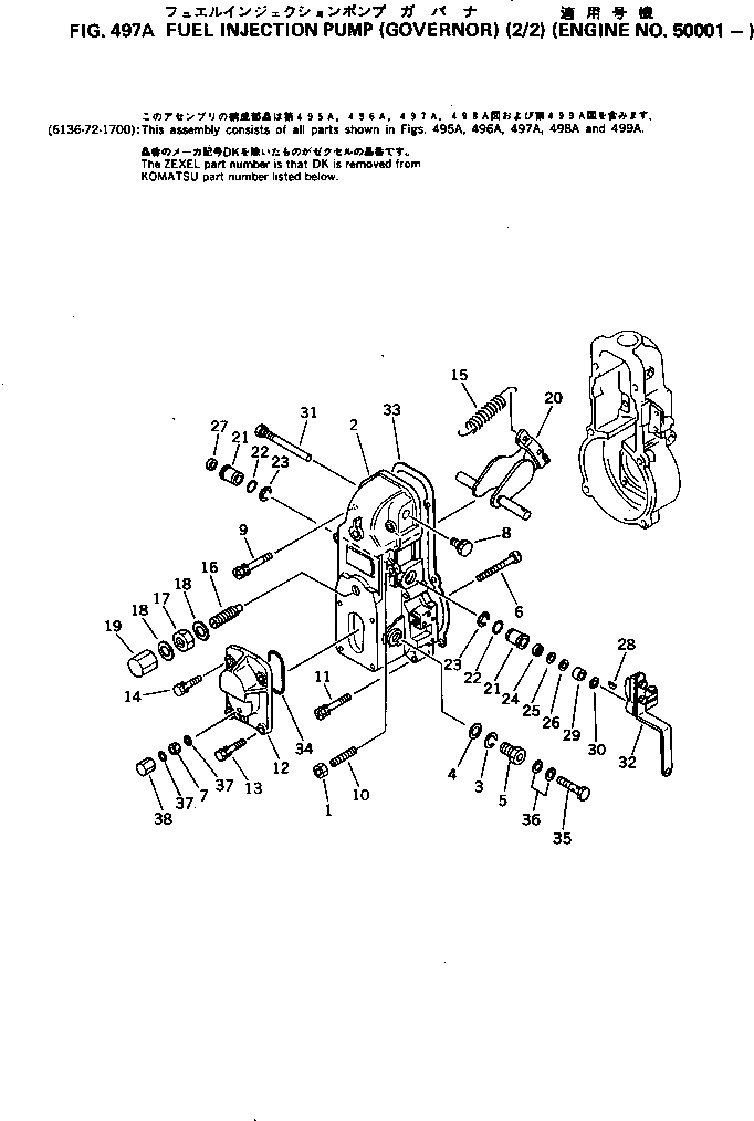
| |1 | 6136-72-1700 | INJECTION PUMP | |
| |1 | DK105410-6310 | ||
| 1 | DK154011-0100 | NUT | |
| 2 | DK154500-7520 | COVER | |
| 3 | DK014110-3440 | WASHER | |
| 4 | DK026516-2040 | GASKET | |
| 5 | DK154316-6600 | NIPPLE | |
| 6 | DK154031-3000 | SCREW | |
| 7 | DK029240-6010 | NUT | |
| 8 | DK154036-0300 | SCREW | |
| 9 | DK020106-5040 | BOLT | |
| 10 | DK154010-0300 | BOLT | |
| 11 | DK020106-3840 | BOLT | |
| 12 | DK154063-5100 | COVER | |
| 13 | DK029020-6210 | BOLT | |
| 14 | DK020006-1640 | BOLT | |
| 15 | DK154150-2700 | SPRING | |
| 16 | DK154158-0820 | CAP | |
| 17 | DK154011-1700 | NUT | |
| 18 | DK026512-1540 | GASKET | |
| 19 | DK154159-1200 | CAP | |
| 20 | DK154200-3120 | LEVER | |
| 21 | DK154204-1900 | BUSHING | |
| 22 | DK029631-8020 | O-RING | |
| 23 | DK016010-1640 | SNAP RING | |
| 24 | DK139611-0000 | OIL SEAL | |
| 25 | DK139411-0000 | SHIM | |
| 26 | DK029311-1090 | WASHER | |
| 27 | DK029141-7010 | END PLATE | |
| 28 | DK025803-1310 | WOODRUFF KEY | |
| 29 | DK154206-2800 | COLLAR | |
| 30 | DK154206-0200 | WASHER | |
| 31 | DK154237-1100 | PIN | |
| 32 | DK154341-6220 | LEVER | |
| 33 | DK154350-7800 | GASKET | |
| 34 | DK029635-2020 | O-RING | |
| 35 | DK029731-2040 | JOINT BOLT | |
| 36 | DK029341-2140 | GASKET | |
| 37 | DK026506-1040 | PACKING | |
| 38 | DK154035-1600 | NUT |