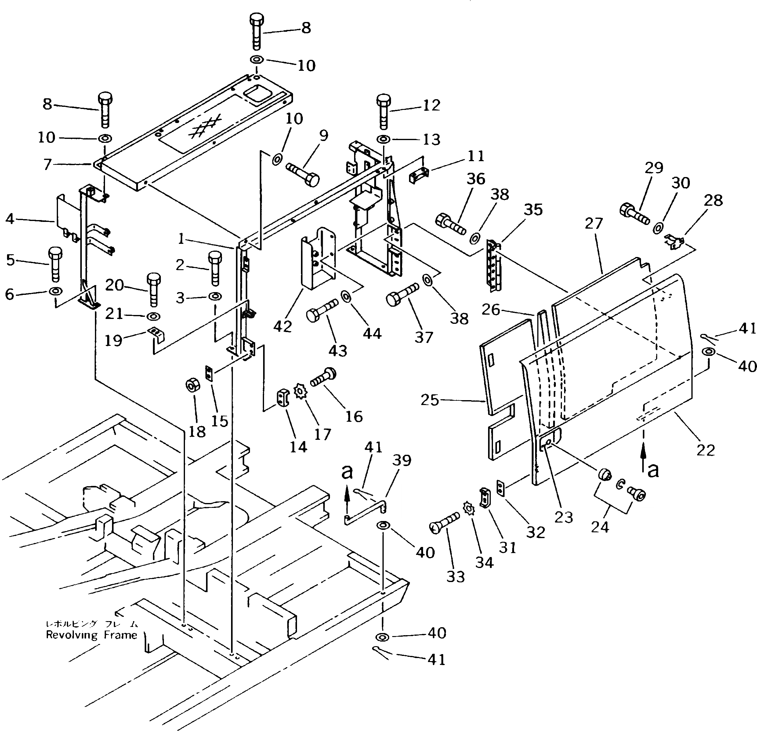
| 1 | 203-54-59522 | BRACKET | |
| 2 | 01010-51030 | BOLT | |
| 3 | 01643-31032 | WASHER | |
| 4 | 203-54-59271 | BRACKET | |
| 5 | 01010-51030 | BOLT | |
| 6 | 01643-31032 | WASHER | |
| 7 | 203-54-59141 | COVER | |
| 8 | 01010-51050 | BOLT | |
| 9 | 01010-51025 | BOLT | |
| 10 | 01643-31032 | WASHER | |
| 11 | 203-54-56810 | BRACKET | |
| 12 | 01010-51025 | BOLT | |
| 13 | 01643-31032 | WASHER | |
| 14 | 566-54-13410 | STRIKER | |
| 15 | 203-54-56790 | PLATE | |
| 16 | 01225-40820 | SCREW | |
| 17 | 566-54-13570 | WASHER | |
| 18 | 01580-00806 | NUT | |
| 19 | 203-54-59290 | PLATE | |
| 20 | 01010-51025 | BOLT | |
| 21 | 01643-31032 | WASHER | |
| |22 | 203-54-59411 | COVER ASS'Y | |
| 22 | COVER | ||
| 23 | 421-54-11372 | LOCK ASS'Y (WELDED) | |
| 24 | 421-54-11381 | LOCK | |
| 25 | 203-54-K1440 | SHEET | |
| 26 | 203-54-K1450 | SHEET | |
| 27 | 203-54-K1460 | SHEET | |
| 28 | 203-54-56820 | CLAMP | |
| 29 | 01010-51016 | BOLT | |
| 30 | 01643-31032 | WASHER | |
| 31 | 566-54-14420 | STOPPER | |
| 32 | 203-54-52610 | PLATE | |
| 33 | 01225-40820 | SCREW | |
| 34 | 566-54-13570 | WASHER | |
| 35 | 203-54-59240 | HINGE | |
| 36 | 01010-51225 | BOLT | |
| 37 | 01010-51230 | BOLT | |
| 38 | 01643-31232 | WASHER | |
| 39 | 21K-54-33610 | BAR | |
| 40 | 01641-21016 | WASHER | |
| 41 | 04050-13018 | PIN,COTTER | |
| 42 | 203-54-59840 | BRACKET | |
| 43 | 01010-51020 | BOLT | |
| 44 | 01643-31032 | WASHER |