zakaz@zapkomat.su
8 800 777-45-32
Расчитать заявку
Каталог
Типы
Гидравлика
Крепеж
Прокладки
Соединения
Кожухи
Электрика
Справочник
Запрос сотрудничества
Сервисным организациям
Контакты
Главная
Справочник
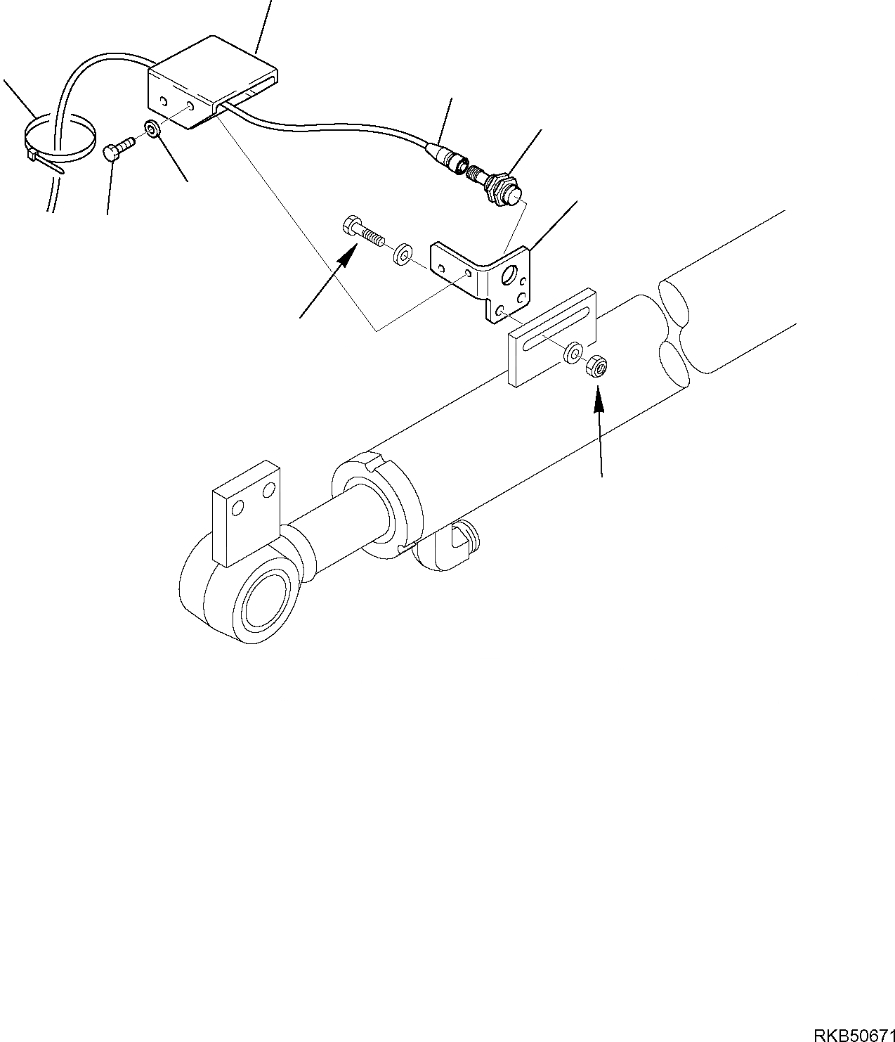
Запчасти возврат в рабоч. полож-е экскаваторы-погрузчики wb97s-5e0 s/n f30003-up Komatsu
1
42N-43-13610
BENT
2
42N-43-13620
PROTECTION
3
01010-80616
BOLT
4
01643-10623
WASHER
5
42N-06-15580
SENSOR
6
42N-06-15490
WIRING HARNESS
7
21D-06-13220
BAND
2
7
6
5
1
4
3
A
A
X
Рассчитать
Ваше имя:
Телефон *:
E-mail:
Сообщение: Пришлите наличие и стоимость
Оформить заказ