Запчасти радиатор (/) погрузчики с бортовым поворотом sk815-5 turbo usa s/n 37btf00003-up Komatsu



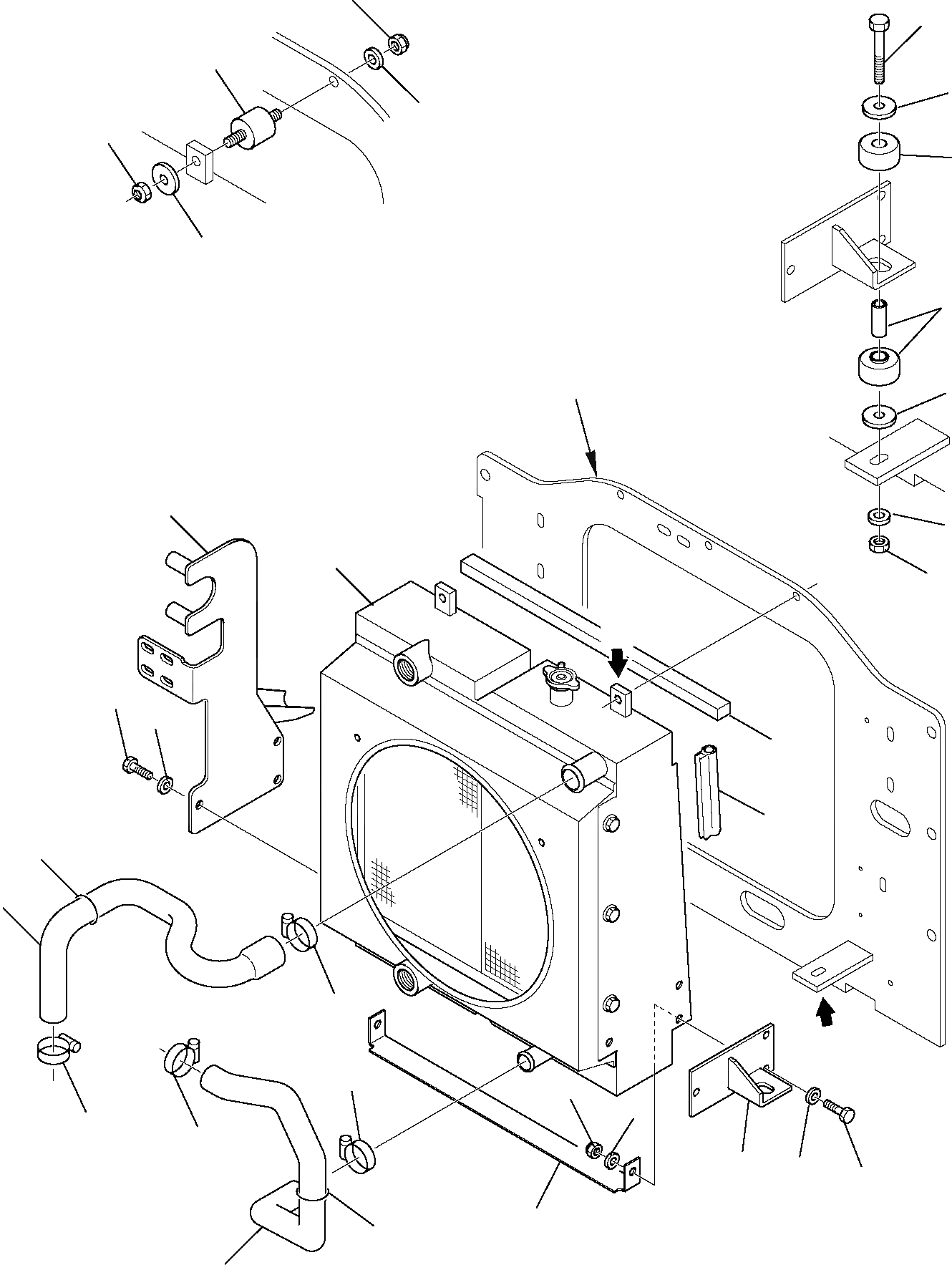
1 37A-03-11203 RADIATOR, ASSY.
2 37A-62-13154 SUPPORT
3 37A-03-11260 SUPPORT
4 801015110 BOLT
5 802170002 WASHER
6 801880001 NUT
7 37A-03-11280 SUPPORT
8 37A-03-11220 DAMPER
9 801015564 BOLT
10 802160003 WASHER
11 802148013 WASHER
12 37A-03-11370 DAMPER
13 37A-03-11340 GASKET
14 37A-03-11210 GASKET
15 37A-03-11310 SLEEVE
16 37A-03-11290 SLEEVE
17 802660010 HOSE-CLAMP
18 802660007 CLAMP
19 855021325 O-RING
20
a
a
9
b
b
12
A
10
5
20
8
11
8
10
2
5
1
6
4
5
13
14
19
16
17
17
6
5
18
18
3
5
4
7
19
15
X
Рассчитать