zakaz@zapkomat.su
8 800 777-45-32
Расчитать заявку
Каталог
Типы
Гидравлика
Крепеж
Прокладки
Соединения
Кожухи
Электрика
Справочник
Запрос сотрудничества
Сервисным организациям
Контакты
Главная
Справочник
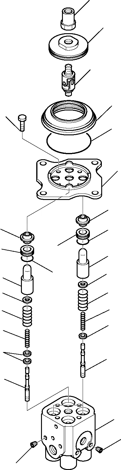
Запчасти клапан ppc(рабочее оборудование) погрузчики с бортовым поворотом hand & foot controls sk815-5 turbo s/n 37btf00003-up Komatsu
20
19
18
15
17
21
16
12
12
13
14
14
11
13
8
11
8
10
9
7
5
6
5
4
4
1
2
3
X
Рассчитать
Ваше имя:
Телефон *:
E-mail:
Сообщение: Пришлите наличие и стоимость
Оформить заказ