- Главная
- Справочник
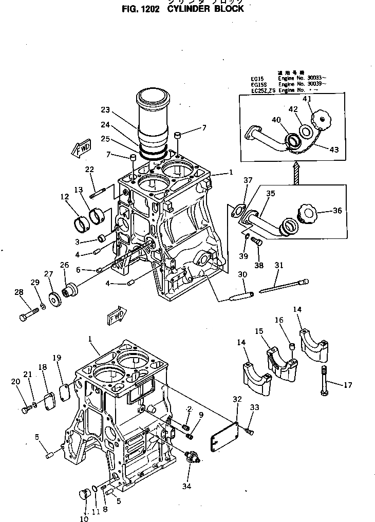
Запчасти блок цилиндров компрессоры ec25z-1 s/n 1001-up Komatsu
|
|
|1 |
6142-22-1200 |
CYLINDER BLOCK ASS'Y
|
|
|
1 |
|
BLOCK,CYLINDER
|
|
|
2 |
07043-50108 |
PLUG
|
|
|
3 |
6140-21-1140 |
PLUG
|
|
|
4 |
04020-01024 |
PIN,DOWEL
|
|
|
5 |
04020-01228 |
PIN,DOWEL
|
|
|
6 |
04025-00512 |
PIN,SPRING
|
|
|
|6 |
04020-00514 |
PIN,DOWEL
|
|
|
7 |
6140-21-1130 |
BUSHING
|
|
|
8 |
04025-00412 |
PIN,SPRING
|
|
|
9 |
07042-00312 |
PLUG
|
|
|
10 |
6140-21-1811 |
INSERT
|
|
|
11 |
6140-51-6330 |
O-RING (K2)
|
|
|
12 |
6142-22-1410 |
BUSHING
|
|
|
13 |
6142-22-1430 |
BUSHING
|
|
|
14 |
6142-29-1220 |
CAP,NO.1¤3
|
|
|
|14 |
6142-22-1220 |
CAP,NO.1¤3
|
|
|
15 |
6142-29-1240 |
CAP,NO.2
|
|
|
|15 |
6142-22-1240 |
CAP,NO.2
|
|
|
16 |
6141-21-1530 |
RING,DOWEL
|
|
|
17 |
6142-21-1610 |
BOLT
|
|
|
18 |
6141-21-1650 |
PLATE
|
|
|
19 |
6141-61-6830 |
GASKET (K2)
|
|
|
20 |
01010-30820 |
BOLT
|
|
|
21 |
01602-00825 |
WASHER,SPRING
|
|
|
22 |
01124-30860 |
STUD
|
|
|
23 |
6142-22-2211 |
LINER,CYLINDER
|
|
|
|23 |
6142-22-2210 |
LINER,CYLINDER
|
|
|
|23 |
6144-21-2211 |
LINER,CYLINDER
|
|
|
24 |
6142-21-2221 |
O-RING (K2)
|
|
|
25 |
6142-21-2230 |
O-RING (K2)
|
|
|
26 |
6141-21-2412 |
SHAFT
|
|
|
27 |
6141-21-2421 |
PLATE
|
|
|
28 |
01010-31265 |
BOLT
|
|
|
29 |
01602-01234 |
WASHER,SPRING
|
|
|
30 |
6142-22-5431 |
GUIDE,OIL GAUGE
|
|
|
31 |
6142-22-5330 |
GAUGE,OIL
|
|
|
32 |
09605-01211 |
PLATE¤ NAME,(LIMITED SUPPLY)
|
|
|
|32 |
6142-82-2351 |
PLATE¤ NAME,(LIMITED SUPPLY)
|
|
|
33 |
04418-02550 |
SCREW
|
|
|
34 |
08073-00505 |
SWITCH,OIL PRESSURE
|
|
|
35 |
6142-22-5711 |
FILLER
|
|
|
36 |
6130-12-8610 |
CAP
|
|
|
37 |
6132-11-4820 |
GASKET (K2)
|
|
|
38 |
01010-30822 |
BOLT
|
|
|
39 |
01602-00825 |
WASHER,SPRING
|
|
|
|40 |
6142-22-5700 |
FILLER ASS'Y
|
|
|
40 |
6142-22-5712 |
FILLER
|
|
|
41 |
6136-21-7120 |
CAP ASS'Y
|
|
|
42 |
6136-21-7180 |
GASKET
|
|
|
43 |
6136-21-7190 |
CHAIN
|