zakaz@zapkomat.su
8 800 777-45-32
Расчитать заявку
Каталог
Типы
Гидравлика
Крепеж
Прокладки
Соединения
Кожухи
Электрика
Справочник
Запрос сотрудничества
Сервисным организациям
Контакты
Главная
Справочник
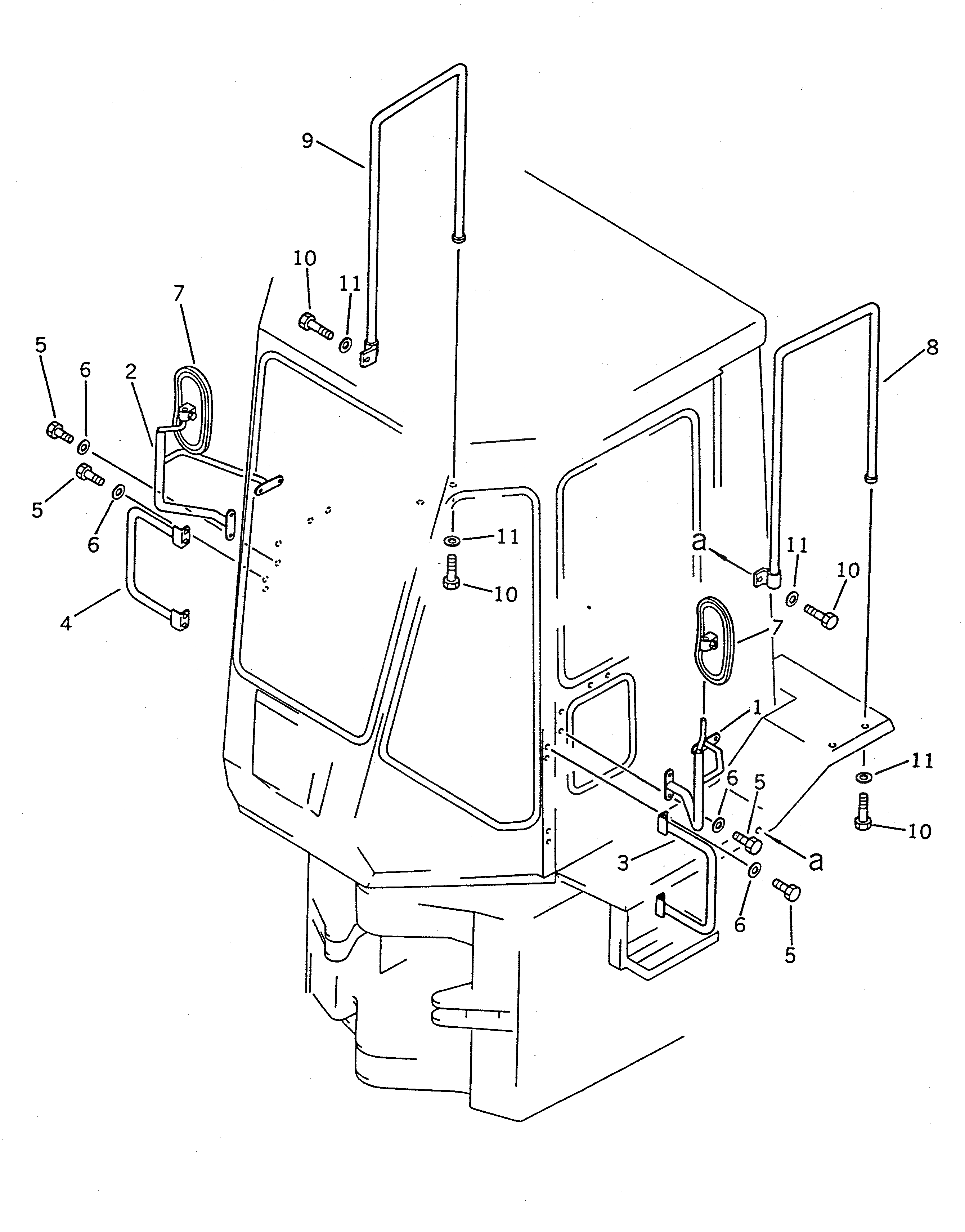
Запчасти стойка и поручни (с кабиной)(№-9999) погрузчики колесные wa100sss-1 s/n 10001-up Komatsu
1
416-929-1111
STAY,L.H.
2
416-929-1121
STAY,R.H.
3
416-929-1130
HANDRAIL,L.H.
4
416-929-1140
HANDRAIL,R.H.
5
01010-50820
BOLT
6
01643-30823
WASHER
7
08174-13116
MIRROR
8
417-54-12223
HANDRAIL,L.H.
9
417-54-12233
HANDRAIL,R.H.
10
01010-51230
BOLT
11
01643-31232
WASHER
X
Рассчитать
Ваше имя:
Телефон *:
E-mail:
Сообщение: Пришлите наличие и стоимость
Оформить заказ