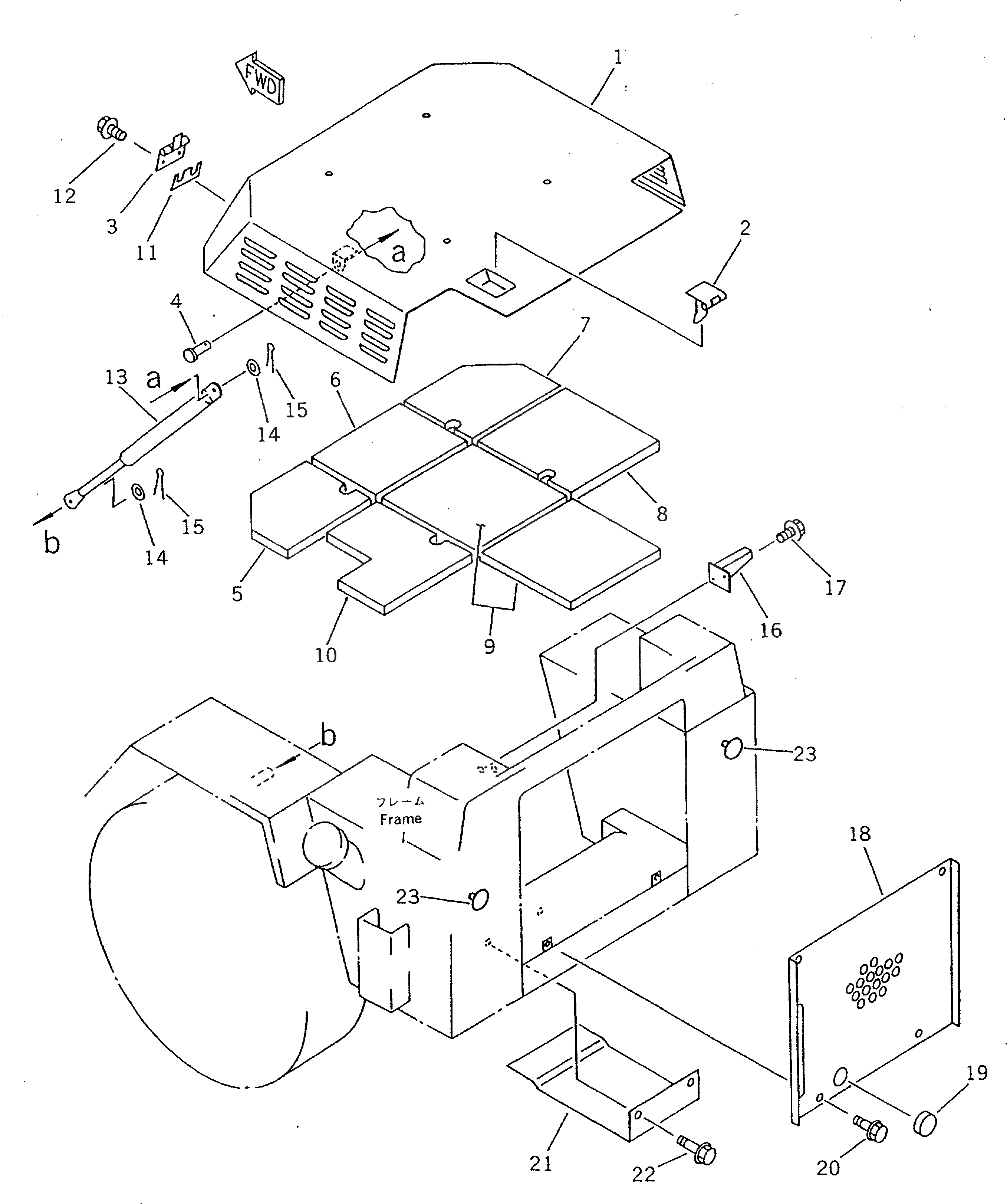
| 1 | FF7830-54310 | COVER ASS'Y | |
| 2 | 09461-00020 | LEVER ASS'Y | |
| 3 | FF7830-54320 | HINGE | |
| 4 | 04205-10820 | PIN | |
| 5 | FF7830-54450 | INSULATOR | |
| 6 | FF7830-54430 | INSULATOR | |
| 7 | FF7830-54410 | INSULATOR | |
| 8 | FF7830-54420 | INSULATOR | |
| 9 | FF7830-54440 | INSULATOR | |
| 10 | FF7830-54460 | INSULATOR | |
| 11 | FF7830-54330 | SHIM | |
| 12 | 01435-00820 | BOLT | |
| 13 | 20M-54-31180 | SPRING | |
| 14 | 01643-20816 | WASHER | |
| 15 | 04050-12015 | PIN,COTTER | |
| 16 | FF7815-54860 | BRACKET | |
| 17 | 01435-00820 | BOLT | |
| 18 | FF7830-54510 | GRILLE | |
| 19 | 09415-03614 | CAP | |
| 20 | 01435-01016 | BOLT | |
| 21 | FF7830-54520 | COVER | |
| 22 | 01435-01045 | BOLT | |
| 23 | FF7814-54920 | REFLECTOR |