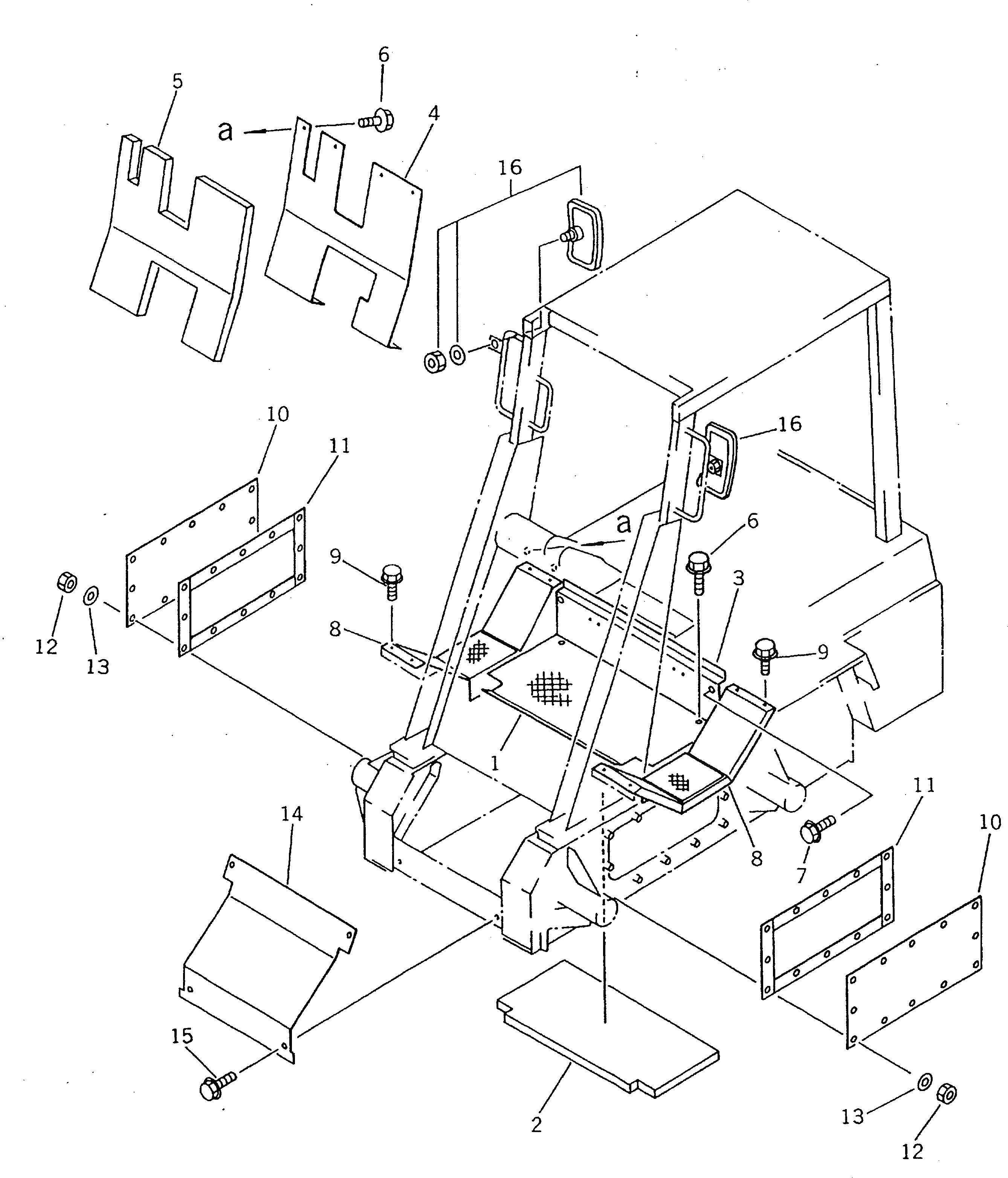
| 1 | FF7830-54120 | PLATE | |
| 2 | FF7830-54130 | INSULATOR | |
| 3 | FF7830-54140 | PLATE | |
| 4 | FF7830-54150 | PLATE | |
| 5 | FF7830-54160 | INSULATOR | |
| 6 | 01435-00816 | BOLT | |
| 7 | 01435-01016 | BOLT | |
| 8 | FF7830-54250 | FENDER | |
| 9 | 01435-00816 | BOLT | |
| 10 | FF7830-54210 | COVER | |
| 11 | FF7830-54220 | PACKING | |
| 12 | 01580-11008 | NUT | |
| 13 | 01640-21016 | WASHER | |
| 14 | FF7830-54110 | PLATE | |
| 15 | 01435-01016 | BOLT | |
| 16 | FF7814-54910 | MIRROR |