zakaz@zapkomat.su
8 800 777-45-32
Расчитать заявку
Каталог
Типы
Гидравлика
Крепеж
Прокладки
Соединения
Кожухи
Электрика
Справочник
Запрос сотрудничества
Сервисным организациям
Контакты
Главная
Справочник
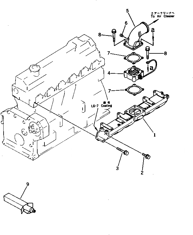
Запчасти 449 5 генераторы дизельные eg60bs-1 s/n 4501-up Komatsu
1
6206-11-4110
INTAKE MANIFOLD
2
01435-21030
BOLT
3
01435-21085
BOLT
4
600-815-2341
HEATER
5
6206-11-4210
CONNECTOR
6
02720-20204
PLUG
7
6136-11-4820
GASKET
8
01435-21070
BOLT
9
09920-00150
GASKET LIQUID
X
Рассчитать
Ваше имя:
Телефон *:
E-mail:
Сообщение: Пришлите наличие и стоимость
Оформить заказ