zakaz@zapkomat.su
8 800 777-45-32
Расчитать заявку
Каталог
Типы
Гидравлика
Крепеж
Прокладки
Соединения
Кожухи
Электрика
Справочник
Запрос сотрудничества
Сервисным организациям
Контакты
Главная
Справочник
Запчасти 449 11 генераторы дизельные eg60bs-1 s/n 4501-up Komatsu
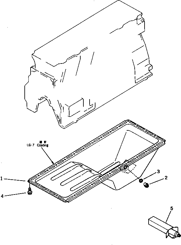
1
6206-21-5110
OIL PAN
2
6204-21-5180
PLUG
3
6204-21-5290
GASKET
4
01435-20814
BOLT
5
09920-00150
GASKET LIQUID
X
Рассчитать
Ваше имя:
Телефон *:
E-mail:
Сообщение: Пришлите наличие и стоимость
Оформить заказ