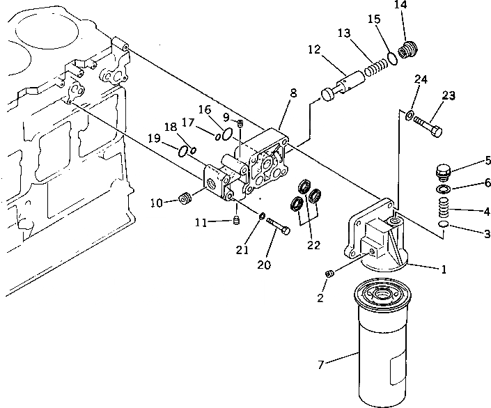
| |1 | 6151-51-5100 | OIL FILTER ASS'Y | |
| 1 | 6151-51-5110 | BRACKET | |
| 2 | 07043-00312 | PLUG | |
| 3 | 6162-53-5450 | PACKING | |
| 4 | 600-211-1870 | SPRING | |
| 5 | 6162-53-5420 | CAP | |
| 6 | 6162-53-5430 | PACKING (K2) | |
| 7 | 600-211-1230 | CARTRIDGE | |
| |8 | 6151-51-5502 | ADAPTER ASS'Y | |
| 8 | ADAPTER | ||
| 9 | 07043-00108 | PLUG | |
| 10 | 07043-00617 | PLUG | |
| 11 | 07043-00312 | PLUG | |
| 12 | 6150-51-5551 | VALVE | |
| 13 | 6150-51-5560 | SPRING | |
| 14 | 6150-51-5570 | PLUG | |
| 15 | 07000-63028 | O-RING (K2) | |
| 16 | 07000-63035 | O-RING (K2) | |
| 17 | 07000-62020 | O-RING (K2) | |
| 18 | 07000-62015 | O-RING (K2) | |
| 19 | 07000-63028 | O-RING (K2) | |
| 20 | 01010-51060 | BOLT | |
| 21 | 01640-21016 | WASHER | |
| 22 | 6124-61-2181 | GROMMET (K2) | |
| 23 | 01010-51075 | BOLT | |
| 24 | 01640-21016 | WASHER |