- Главная
- Справочник
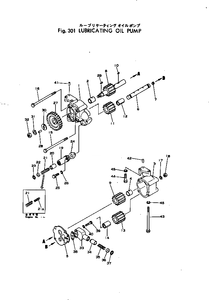
Запчасти смазыв. насос(№87-) погрузчики гусеничные d95s-1 s/n 1003-up Komatsu
|
|
|1 |
6128-52-1002 |
OIL PUMP ASS'Y
|
|
|
|1 |
6128-52-1001 |
OIL PUMP ASS'Y
|
|
|
|1 |
6128-51-1004 |
OIL PUMP ASS'Y
|
|
|
|1 |
6128-51-1003 |
OIL PUMP ASS'Y
|
|
|
|1 |
6128-51-1012 |
BODY ASS'Y
|
|
|
1 |
|
BODY
|
|
|
2 |
6127-51-1151 |
BUSHING
|
|
|
|3 |
6128-51-1022 |
BODY ASS'Y
|
|
|
3 |
|
BODY
|
|
|
4 |
6127-51-1161 |
BUSHING
|
|
|
5 |
6128-51-1221 |
COVER
|
|
|
|6 |
6128-51-1032 |
SHAFT ASS'Y
|
|
|
6 |
|
SHAFT
|
|
|
7 |
6128-51-1180 |
PLUG
|
|
|
|7 |
6100-21-1130 |
PLUG
|
|
|
8 |
6128-51-1312 |
SHAFT,DRIVE
|
|
|
9 |
6128-51-1411 |
GEAR,DRIVE
|
|
|
10 |
04000-00730 |
KEY
|
|
|
|11 |
6128-51-1052 |
GEAR ASS'Y
|
|
|
11 |
|
GEAR,DRIVEN
|
|
|
12 |
6128-51-1520 |
BUSHING
|
|
|
|13 |
6128-51-1041 |
GEAR ASS'Y
|
|
|
13 |
|
GEAR,DRIVEN
|
|
|
14 |
6128-51-1520 |
BUSHING
|
|
|
15 |
6127-51-1180 |
BOLT
|
|
|
16 |
6127-51-1190 |
BOLT,REAMER
|
|
|
17 |
01602-01236 |
WASHER,SPRING
|
|
|
18 |
01582-01210 |
NUT
|
|
|
19 |
6127-51-1611 |
CASE
|
|
|
20 |
6127-51-1623 |
VALVE
|
|
|
|20 |
6127-51-1621 |
VALVE
|
|
|
21 |
6127-51-1631 |
SPRING
|
|
|
|21 |
6127-51-1630 |
SPRING
|
|
|
21A |
6127-51-1670 |
SPRING
|
|
|
22 |
6127-51-1641 |
RETAINER
|
|
|
23 |
6127-51-1650 |
RING,SNAP
|
|
|
24 |
6127-51-1660 |
GASKET (K2)
|
|
|
25 |
01010-31025 |
BOLT
|
|
|
26 |
01602-01030 |
WASHER,SPRING
|
|
|
|27 |
6127-51-2020 |
GEAR ASS'Y
|
|
|
27 |
|
GEAR
|
|
|
28 |
04020-00514 |
PIN
|
|
|
29 |
04000-00718 |
KEY
|
|
|
30 |
6127-51-2130 |
WASHER
|
|
|
31 |
01653-21412 |
WASHER,LOCK (K2)
|
|
|
32 |
01582-01411 |
NUT
|
|
|
33 |
6128-51-1611 |
CASE
|
|
|
34 |
6127-51-1623 |
VALVE
|
|
|
|34 |
6127-51-1621 |
VALVE
|
|
|
35 |
6128-51-1632 |
SPRING
|
|
|
36 |
6128-51-1640 |
RETAINER
|
|
|
37 |
6127-51-1650 |
RING,SNAP
|
|
|
38 |
6127-51-6920 |
GASKET (K2)
|
|
|
39 |
01010-31055 |
BOLT
|
|
|
40 |
01602-01030 |
WASHER,SPRING
|
|
|
41 |
04020-00820 |
PIN
|
|
|
42 |
6127-21-1281 |
PIN
|
|
|
43 |
6128-51-1240 |
BOLT
|
|
|
44 |
01010-31250 |
BOLT
|
|
|
45 |
01602-01236 |
WASHER,SPRING
|