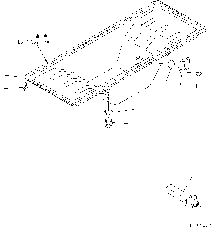
Запчасти масляный поддон (без датчик ур-ня масла) двигатели s6d95l-1c s/n 10001-up Komatsu



1 6206-21-5120 PAN,OIL
1 6206-21-5130 PAN,OIL
2 6204-21-5180 PLUG,DRAIN
2 6204-21-5190 PLUG,DRAIN
3 07005-02216 GASKET (K2)
3 6204-21-5290 GASKET (K2)
4 6206-81-1710 PLATE
5 07000-63030 O-RING (K2)
6 01435-20814 BOLT
7 01435-00814 BOLT
7 01435-20814 BOLT
8 09920-00150 LIQUID GASKET,LG-7, 150G
1
2
3
4
5
6
7
8
X
Рассчитать