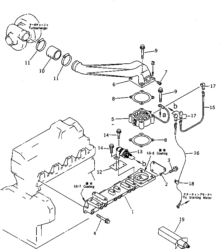
| |1 | 6204-11-4120 | INTAKE MANIFOLD A. | |
| 1 | 6204-11-4130 | MANIFOLD,INTAKE | |
| 2 | 6204-11-4140 | PLATE | |
| 3 | 01435-00812 | BOLT | |
| 4 | 01435-21075 | BOLT | |
| 5 | 600-815-2341 | HEATER,RIBBON | |
| 6 | 6205-11-4310 | CONNECTOR,AIR | |
| 7 | 07043-50108 | PLUG | |
| 8 | 6136-11-4820 | GASKET (K1) | |
| 9 | 01435-21070 | BOLT | |
| 10 | 6207-11-4370 | HOSE | |
| 11 | 07281-00709 | CLAMP | |
| 12 | 6205-81-5510 | PLATE | |
| 13 | 600-815-2170 | SWITCH,HEATER | |
| 14 | 01435-20612 | BOLT | |
| 15 | 6151-81-4410 | WIRE¤ 265MM | |
| 16 | 6205-81-4710 | WIRE | |
| 17 | 08038-00519 | CAP | |
| 18 | 08036-10810 | CLIP | |
| 19 | 09920-00150 | LIQUID GASKET,LG-7¤ 150G |