zakaz@zapkomat.su
8 800 777-45-32
Расчитать заявку
Каталог
Типы
Гидравлика
Крепеж
Прокладки
Соединения
Кожухи
Электрика
Справочник
Запрос сотрудничества
Сервисным организациям
Контакты
Главная
Справочник
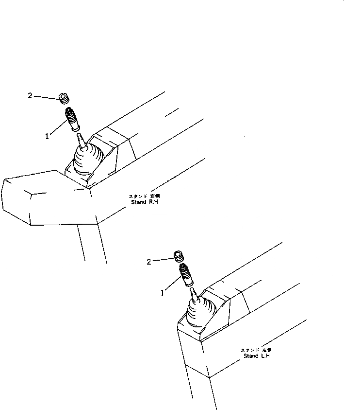
Запчасти knob (для экскават.) экскаваторы pc650se-3 s/n 10501-up Komatsu
|$0
205-43-73600
KNOB ASS'Y
1
205-43-73710
BODY
2
205-43-73680
CAP
X
Рассчитать
Ваше имя:
Телефон *:
E-mail:
Сообщение: Пришлите наличие и стоимость
Оформить заказ