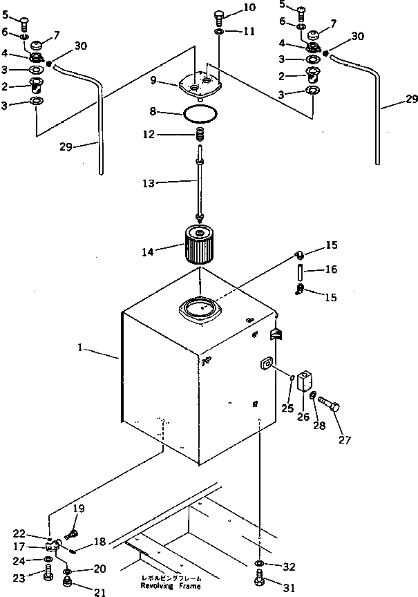
| |$0 | 209-60-00100 | HYDRAULIC TANK ASS'Y | |
| 1 | 209-60-51111 | TANK | |
| 2 | 205-60-51480 | SCREEN | |
| 3 | 205-60-51460 | GASKET | |
| 4 | 201-60-12171 | FILLER NECK | |
| 5 | 01220-40516 | SCREW | |
| 6 | 01601-20513 | WASHER,SPRING | |
| 7 | 201-60-12190 | CAP ASS'Y | |
| 8 | 07000-05230 | O-RING | |
| 9 | 209-60-51131 | COVER | |
| 10 | 01010-51235 | BOLT | |
| 11 | 01643-31232 | WASHER | |
| 12 | 12R-60-11230 | SPRING | |
| 13 | 209-60-11131 | SUPPORT | |
| 14 | 209-60-51120 | STRAINER | |
| 15 | 203-60-31100 | ELBOW ASS'Y | |
| 16 | 203-60-31160 | TUBE | |
| |$17 | 155-60-12500 | VALVE ASS'Y | |
| 17 | 155-60-12510 | BODY | |
| 18 | 04025-00532 | PIN | |
| 19 | 155-60-12520 | VALVE | |
| 20 | 07005-02416 | GASKET | |
| 21 | 07040-12412 | PLUG | |
| 22 | 07000-03025 | O-RING | |
| 23 | 01010-51025 | BOLT | |
| 24 | 01643-31032 | WASHER | |
| 25 | 07000-02055 | O-RING | |
| 26 | 600-815-3210 | CASE | |
| 27 | 01010-51075 | BOLT | |
| 28 | 01643-31032 | WASHER | |
| 29 | 207-60-11350 | TUBE | |
| 30 | 07280-01110 | CLAMP | |
| 31 | 01010-52045 | BOLT | |
| 32 | 01643-32060 | WASHER |