- Главная
- Справочник
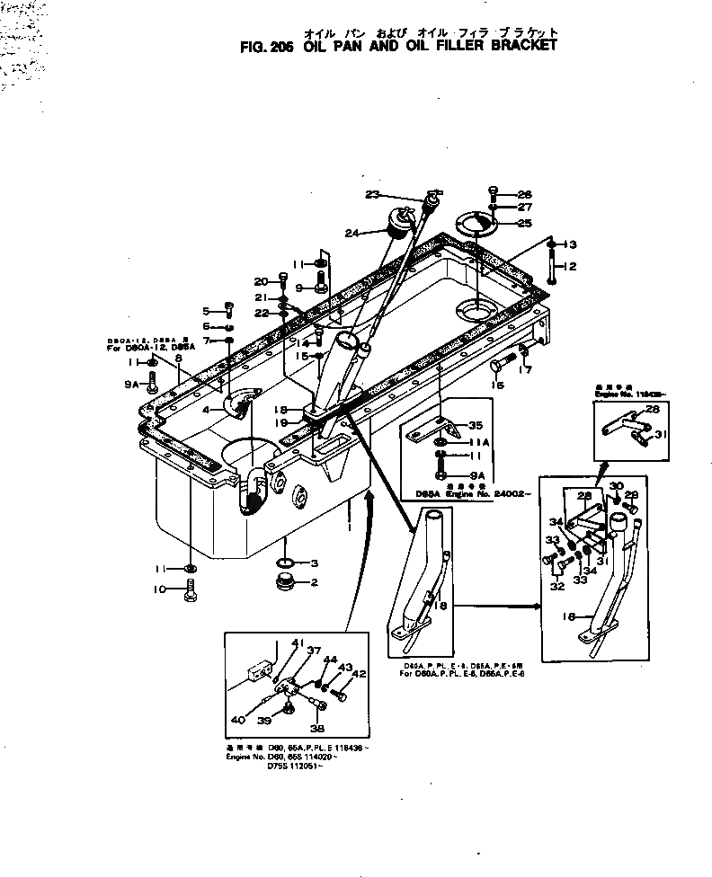
Запчасти масляный поддон и маслоналивной патрубок корпус погрузчики гусеничные d75s-2 s/n 1004-up Komatsu
|
|
1 |
6691-21-5114 |
PAN,OIL
|
|
|
1 |
6691-21-5113 |
PAN,OIL
|
|
|
1 |
6691-21-5112 |
PAN,OIL
|
|
|
1 |
6691-21-5111 |
PAN,OIL
|
|
|
1 |
6691-21-5110 |
PAN,OIL
|
|
|
2 |
07044-13620 |
PLUG,DRAIN
|
|
|
2 |
07044-03620 |
PLUG,DRAIN
|
|
|
3 |
07000-03032 |
O-RING (K4)
|
|
|
4 |
6672-22-5520 |
SCREEN,OIL PAN
|
|
|
5 |
01212-50612 |
SCREW
|
|
|
6 |
01602-00619 |
WASHER,SPRING
|
|
|
7 |
01640-20610 |
WASHER
|
|
|
8 |
6623-21-5811 |
GASKET,OIL PAN (K4)
|
|
|
8 |
6623-21-5810 |
GASKET,OIL PAN (K4)
|
|
|
9 |
6610-21-5720 |
BOLT
|
|
|
10 |
02010-20732 |
BOLT
|
|
|
11 |
01602-01134 |
WASHER,SPRING
|
|
|
11 |
02310-11428 |
WASHER,SPRING
|
|
|
12 |
02030-30570 |
BOLT
|
|
|
13 |
02310-11020 |
WASHER,SPRING
|
|
|
14 |
01010-30830 |
BOLT
|
|
|
14 |
01000-30830 |
BOLT
|
|
|
15 |
01602-00825 |
WASHER,SPRING
|
|
|
16 |
01010-31235 |
BOLT
|
|
|
17 |
01602-01236 |
WASHER,SPRING
|
|
|
18 |
6693-22-5411 |
BRACKET,OIL FILLER
|
|
|
18 |
6693-22-5410 |
BRACKET,OIL FILLER
|
|
|
19 |
6643-21-5421 |
GASKET (K4)
|
|
|
20 |
01010-31235 |
BOLT
|
|
|
21 |
01602-01236 |
WASHER,SPRING
|
|
|
22 |
01641-21223 |
WASHER
|
|
|
23 |
6693-22-5302 |
OIL GAUGE ASS'Y
|
|
|
23 |
6693-22-5301 |
OIL GAUGE ASS'Y
|
|
|
23 |
6693-22-5300 |
OIL GAUGE ASS'Y
|
|
|
24 |
6610-21-7200 |
CAP,OIL FILLER
|
|
|
25 |
6643-21-5520 |
SCREEN,OIL PAN
|
|
|
26 |
01010-30612 |
BOLT
|
|
|
27 |
01602-00619 |
WASHER,SPRING
|