- Главная
- Справочник
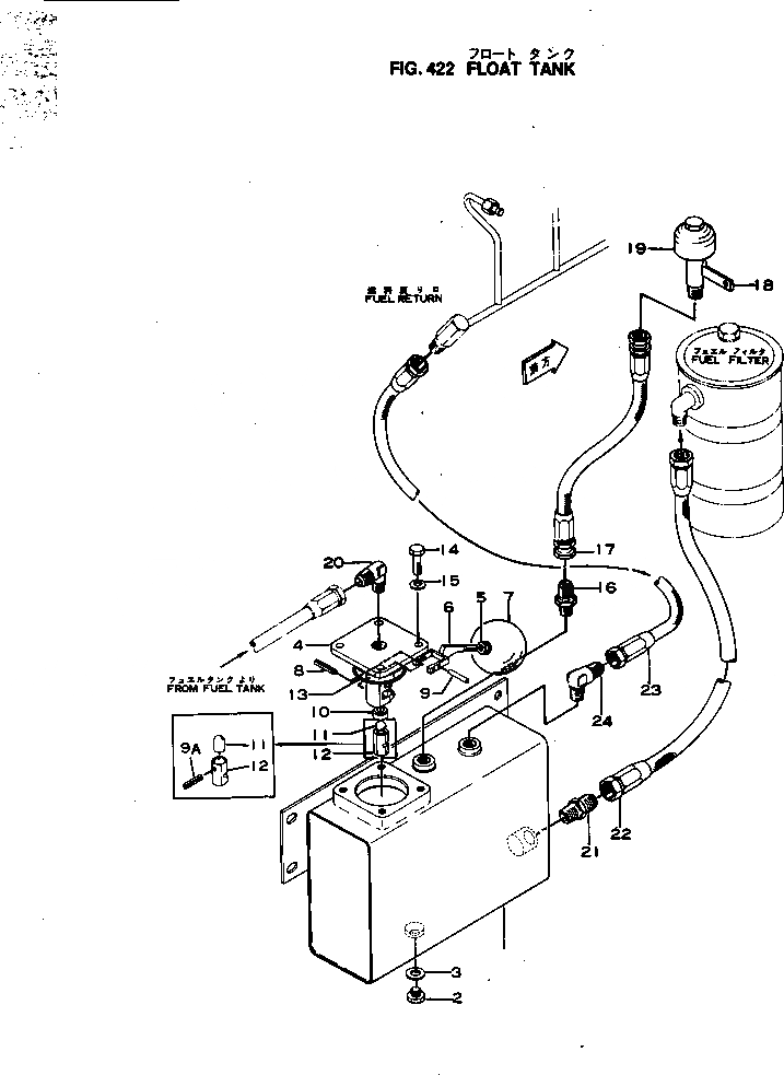
Запчасти плавающ бак погрузчики гусеничные d75s-2 s/n 1004-up Komatsu
|
|
|1 |
6672-70-8811 |
FLOAT TANK ASS'Y
|
|
|
|1 |
6672-70-8810 |
FLOAT TANK ASS'Y
|
|
|
1 |
6672-72-8812 |
TANK,FLOAT
|
|
|
|1 |
6672-72-8811 |
TANK,FLOAT
|
|
|
2 |
07044-03620 |
PLUG,DRAIN
|
|
|
|2 |
07040-01409 |
PLUG,DRAIN
|
|
|
3 |
07000-03032 |
O-RING
|
|
|
|3 |
07003-01419 |
GASKET
|
|
|
|4 |
6672-72-8702 |
FLOAT VALVE ASS'Y,FLOAT
|
|
|
|4 |
6610-70-8710 |
VALVE,FLOAT
|
|
|
4 |
6672-72-8710 |
BODY,VALVE
|
|
|
5 |
02206-10404 |
NUT
|
|
|
6 |
6610-71-8742 |
YOKE
|
|
|
7 |
6610-71-8732 |
BALL,FLOAT
|
|
|
|7 |
6610-71-8730 |
BALL,FLOAT
|
|
|
8 |
6610-71-8771 |
PIN
|
|
|
9 |
6610-71-8761 |
PIN,SPRING
|
|
|
9A |
04025-00312 |
PIN,SPRING
|
|
|
10 |
6610-71-8720 |
INSERT,VALVE SEAT
|
|
|
11 |
6600-01-1111 |
BALL,VALVE
|
|
|
|11 |
6600-01-1110 |
BALL,VALVE
|
|
|
12 |
6610-71-8751 |
GUIDE,FLOAT
|
|
|
|12 |
6610-71-8750 |
GUIDE,FLOAT
|
|
|
13 |
07000-03062 |
O-RING
|
|
|
14 |
01040-31025 |
BOLT
|
|
|
15 |
01602-01030 |
WASHER,SPRING
|
|
|
16 |
6641-71-8930 |
CONNECTOR
|
|
|
17 |
6675-71-9310 |
HOSE,BREATHER
|
|
|
18 |
6641-71-8940 |
BRACKET,BREATHER
|
|
|
19 |
6610-71-8910 |
BREATHER
|
|
|
20 |
6675-71-8850 |
CONNECTOR
|
|
|
21 |
6672-72-2580 |
CONNECTOR
|
|
|
22 |
6672-72-9531 |
HOSE
|
|
|
23 |
6672-72-9411 |
HOSE
|
|
|
24 |
6600-01-3240 |
ELBOW
|