- Главная
- Справочник
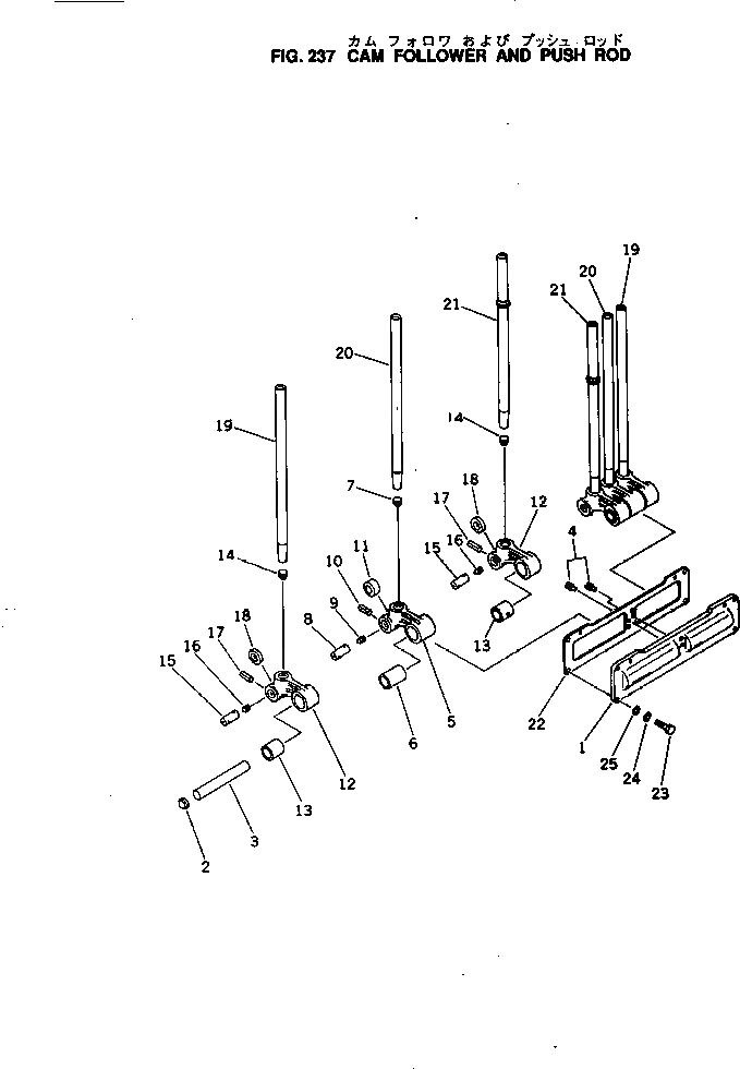
Запчасти толкатель клапана и push rod самосвалы hd180-4 s/n 510-up Komatsu
|
|
|$0 |
6610-41-2010 |
HOUSING ASS'Y,CAM FOLLOWER
|
|
|
|$1 |
6610-41-2020 |
HOUSING ASS'Y,CAM FOLLOWER
|
|
|
1 |
6610-41-2111 |
HOUSING,CAM FOLLOWER
|
|
|
1 |
6610-41-2110 |
HOUSING,CAM FOLLOWER
|
|
|
2 |
6610-41-2130 |
PLUG,EXPANSION
|
|
|
3 |
6610-41-2140 |
SHAFT,ROCKER LEVER
|
|
|
4 |
6610-41-2120 |
SCREW
|
|
|
|$7 |
6610-41-2050 |
LEVER ASS'Y,INJECTOR
|
|
|
|$8 |
6610-41-2060 |
LEVER ASS'Y,INJECTOR
|
|
|
5 |
|
LEVER
|
|
|
6 |
6610-41-2420 |
BUSHING
|
|
|
7 |
6610-41-2330 |
SOCKET
|
|
|
|$12 |
6610-41-3040 |
PIN ASS'Y
|
|
|
8 |
|
PIN
|
|
|
9 |
6610-41-2360 |
PLUG
|
|
|
10 |
6610-41-2370 |
PIN,SPRING
|
|
|
11 |
6610-41-2440 |
ROLLER
|
|
|
|$17 |
6610-41-2030 |
LEVER ASS'Y,INTAKE AND EXHAUST
|
|
|
|$18 |
6610-41-2040 |
LEVER ASS'Y,INTAKE AND EXHAUST
|
|
|
12 |
|
LEVER
|
|
|
13 |
|
BUSHING
|
|
|
14 |
6610-41-2330 |
SOCKET
|
|
|
|$22 |
6610-41-3050 |
PIN ASS'Y
|
|
|
15 |
|
PIN
|
|
|
16 |
6610-41-2360 |
PLUG
|
|
|
17 |
6610-41-2370 |
PIN,SPRING
|
|
|
18 |
6610-41-2340 |
ROLLER
|
|
|
19 |
6710-41-3020 |
ROD ASS'Y,EXHAUST
|
|
|
19 |
6610-41-3020 |
ROD ASS'Y,EXHAUST
|
|
|
19 |
|
ROD,EXHAUST
|
|
|
19 |
|
ROD,EXHAUST
|
|
|
20 |
6610-41-3030 |
ROD ASS'Y,INJECTOR
|
|
|
20 |
|
ROD,INJECTOR
|
|
|
21 |
6710-41-3010 |
ROD ASS'Y,INTAKE
|
|
|
21 |
6610-41-3010 |
ROD ASS'Y,INTAKE
|
|
|
21 |
|
ROD,INTAKE
|
|
|
21 |
|
ROD,INTAKE
|
|
|
|$37 |
6610-41-2081 |
GASKET ASS'Y (K2)
|
|
|
|$38 |
6610-41-2080 |
GASKET ASS'Y (K2)
|
|
|
22 |
6610-41-2810 |
GASKET, 0.80MM
|
|
|
22 |
6610-41-2820 |
GASKET, 0.38MM
|
|
|
22 |
6610-41-2820 |
GASKET, 0.38MM
|
|
|
22 |
6610-41-2840 |
GASKET, 0.38MM
|
|
|
22 |
6610-41-2830 |
GASKET, 0.18MM
|
|
|
23 |
02030-20625 |
BOLT
|
|
|
24 |
02310-11224 |
WASHER,SPRING
|
|
|
25 |
02300-11320 |
WASHER
|