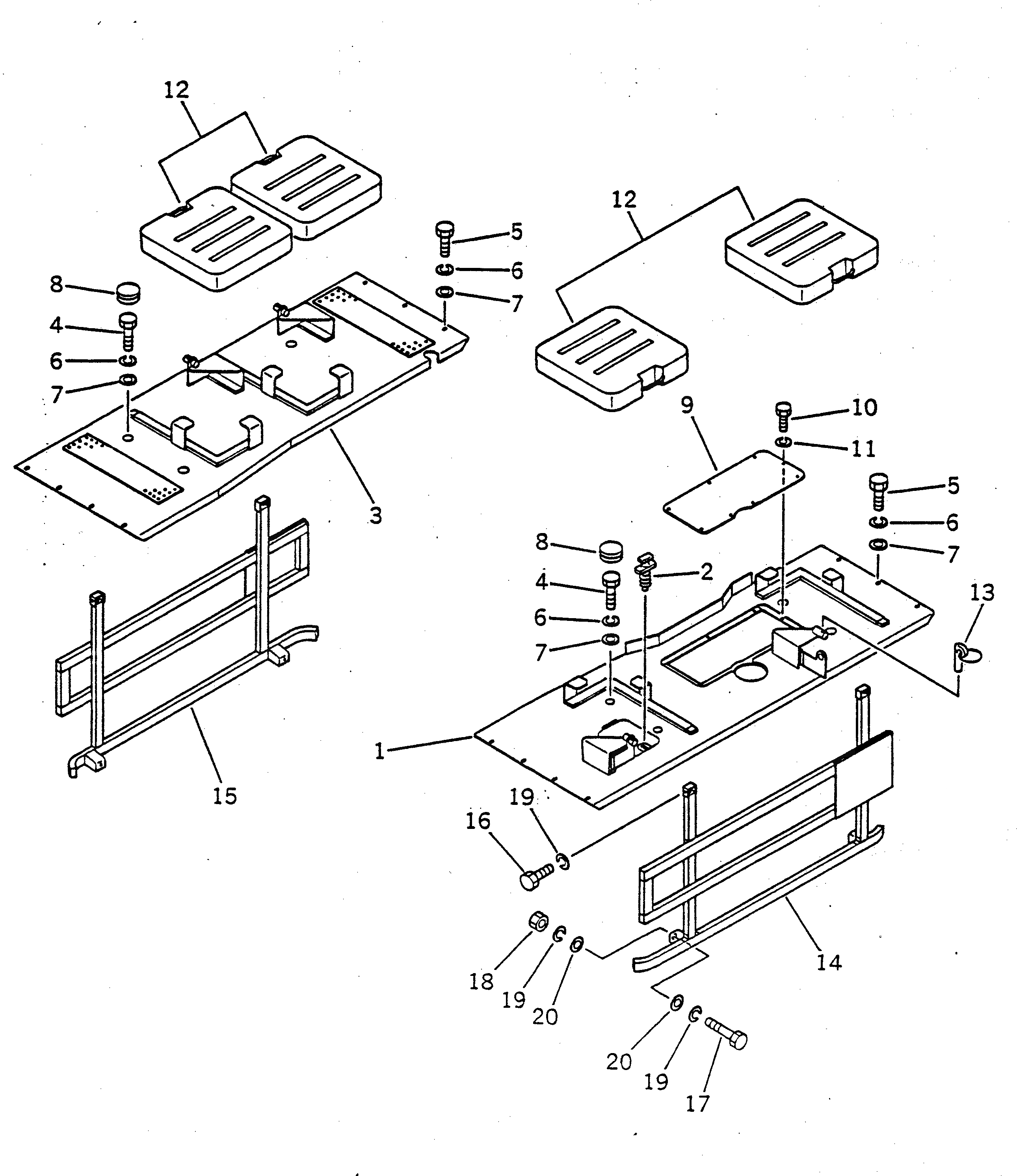
| 1 | 22X-54-15350 | COVER | |
| 2 | 09459-00000 | LOCK | |
| 3 | 22X-54-15360 | COVER | |
| 4 | 01010-51030 | BOLT | |
| 5 | 01010-51025 | BOLT | |
| 6 | 01602-21030 | WASHER | |
| 7 | 01643-31032 | WASHER | |
| 8 | 09415-02512 | CAP | |
| 9 | 22X-54-15470 | COVER | |
| 10 | 01010-50612 | BOLT | |
| 11 | 01602-20619 | WASHER | |
| 12 | 22W-54-13990 | PLATE | |
| 13 | 111-86-21705 | PIN ASS'Y | |
| 14 | 22X-54-15371 | STEP | |
| 15 | 22X-54-15381 | STEP | |
| 16 | 01010-51025 | BOLT | |
| 17 | 01010-51035 | BOLT | |
| 18 | 01580-01008 | NUT | |
| 19 | 01602-21030 | WASHER | |
| 20 | 01643-31032 | WASHER |