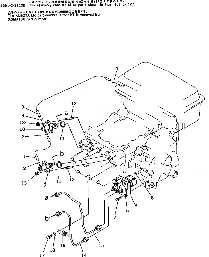
| |1 | 2691-2-31100 | ENGINE ASS'Y | |
| |1 | KT14611-4240-1 | PIPE ASS'Y | |
| 1 | KT14611-4251-3 | PIPE | |
| 2 | KT10244-4232-1 | CLIP | |
| |3 | KT14952-4250-1 | PIPE ASS'Y | |
| 3 | KT14952-4252-1 | PIPE | |
| 4 | KT10244-4232-1 | CLIP | |
| 5 | KT14952-5101-1 | INJECTION PUMP A. | |
| 6 | KT15221-5211-3 | SHIM | |
| 7 | KT01123-50825 | BOLT | |
| 8 | KT05012-00608 | PIN | |
| 9 | KT14941-5300-1 | NOZZLE HOLDER ASS'Y | |
| 10 | KT14952-5300-1 | NOZZLE HOLDER ASS'Y | |
| 11 | KT14102-5362-1 | GASKET | |
| 12 | KT01513-50850 | STUD | |
| 13 | KT02156-50080 | NUT | |
| 14 | KT14952-5371-1 | PIPE | |
| 15 | KT14952-5372-1 | PIPE | |
| 16 | KT14952-5385-1 | CLAMP | |
| 17 | KT01222-50816 | BOLT |