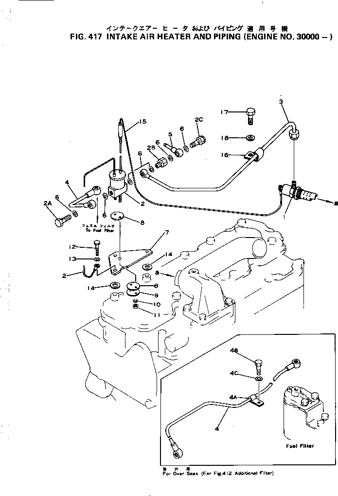
| 1 | 6130-82-4110 | HEATER,INTAKE AIR | |
| 2 | 6132-81-4622 | MAGNET VALVE ASS'Y | |
| |2 | 6132-81-4621 | MAGNET VALVE ASS'Y | |
| 2A | 6130-84-4270 | BOLT,JOINT | |
| 2B | 6130-82-4280 | BOLT,JOINT | |
| 2C | 6130-82-4261 | OVERFLOW VALVE A. | |
| |2C | 6130-82-4260 | OVERFLOW VALVE A. | |
| 3 | 6130-81-4720 | PIPE | |
| 4 | 6131-81-4620 | PIPE | |
| |4 | 6130-81-4460 | PIPE,(EXCEPT JAPAN) | |
| 4A | 6130-82-4430 | CLIP | |
| 4B | 01010-30820 | BOLT | |
| 4C | 01602-00825 | WASHER,SPRING | |
| 5 | 6130-82-4230 | PIPE | |
| 6 | 07005-01212 | GASKET | |
| 7 | 6131-81-4610 | BRACKET | |
| 8 | 6130-82-4310 | PACKING | |
| 9 | 6130-82-4320 | WASHER | |
| 10 | 01602-00619 | WASHER,SPRING | |
| 11 | 01580-00605 | NUT | |
| 12 | 01010-30825 | BOLT | |
| 13 | 01602-00825 | WASHER,SPRING | |
| 14 | 01643-31032 | WASHER | |
| 15 | 6130-81-4730 | WIRE | |
| |15 | 6130-82-4130 | WIRE,(EXCEPT JAPAN) | |
| 16 | 6130-82-4430 | CLIP | |
| 17 | 01010-30820 | BOLT | |
| 18 | 01643-00823 | WASHER |