zakaz@zapkomat.su
8 800 777-45-32
Расчитать заявку
Каталог
Типы
Гидравлика
Крепеж
Прокладки
Соединения
Кожухи
Электрика
Справочник
Запрос сотрудничества
Сервисным организациям
Контакты
Главная
Справочник
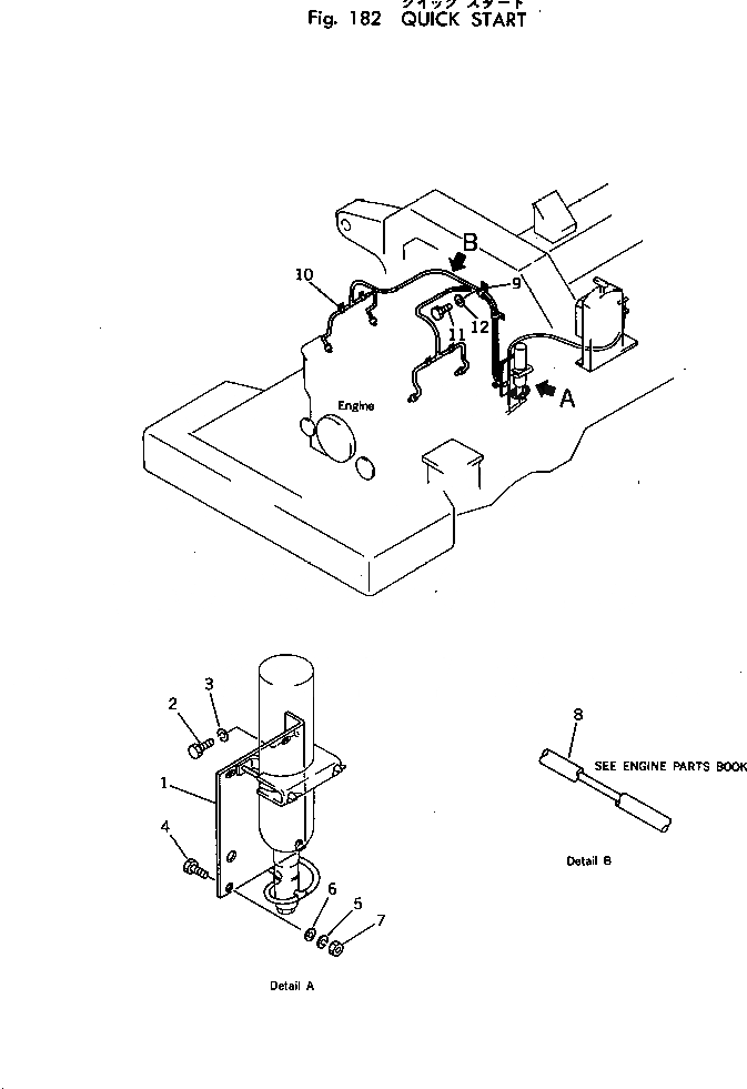
Запчасти quick start самосвалы hd785-1l s/n 1101-up Komatsu
1
566-01-16110
BRACKET
2
01010-51020
BOLT
3
01602-21030
WASHER
4
01010-50620
BOLT
5
01602-20619
WASHER
6
01640-00610
WASHER
7
01580-10605
NUT
8
07823-00480
TUBE
9
08036-01214
CLIP
10
08036-10814
CLIP
11
01010-51016
BOLT
12
01602-21030
WASHER
X
Рассчитать
Ваше имя:
Телефон *:
E-mail:
Сообщение: Пришлите наличие и стоимость
Оформить заказ